Переговорное устройство на микросхеме К174УН7
Рейтинг: / 5
- Подробности
- Категория: домофоны
- Опубликовано: 19.09.2019 10:28
- Просмотров: 2325
Общая характеристика и принципиальная схема Переговорное устройство служит для связи между двумя абонентами. Оно может быть полезно на садовом участке или даче, для связи между домом и калиткой. В целях безопасности устройство также можно использовать для связи между квартирой в многоэтажном доме и лестничной площадкой, если имеется защитная дверь, отгораживающая площадку от квартир на этаже. Устройство собрано на интегральной микросхеме К174УН7. Цоколевка микросхемы и назначение ее выводов дано на рис. 1.
Если к этой микросхеме добавить резисторы и конденсаторы соответствующих номиналов, то можно получить небольших размеров усилитель звуковой частоты мощностью до 4 Вт. Типовая схема УЗЧ на этой микросхеме приведена на рис. 2.
С целью повышения чувствительности такого УЗЧ на его вход обычно включают предварительный усилитель на одном транзисторе, так сделано в предлагаемом переговорном устройстве, схема которого представлена на рис. 3.
Детали В устройстве вместо транзистора VT1, указанного на схеме, можно использовать любой маломощный транзистор обратной проводимости, например, типа КТ315 или КТ503 с любой буквой. Резисторы типа МЛТ-0,125, электролитические конденсаторы С1…СЗ, С5, С6, С9, СЮ типа К50-6, остальные конденсаторы керамические малогабаритные. Кнопка S1 без фиксации типа П2К. Переменный резистор R5 — СПЗ-4аМ. В качестве громкоговорителей ВА1 и ВА1 можно применить электродинамические головки 2ГД-36 или аналогичные с мощностью 1…2 Вт и с сопротивлением звуковой катушки 4.„8 Ом. Питание переговорного устройства осуществляют от гальванических элементов типа 316, соединенных последовательно, общим напряжением 9 В или от стабилизированного источника питания. Устройство собирается на печатной плате размером 50×50 мм и помещается в корпус, в котором также размещаются переключатель S1, источник питания и один из динамиков. Второй динамик, например ВА2, размещают вне помещения. При использовании исправных деталей, собранное устройство начинает работать сразу и особой наладки не требует. Резистором R1 устанавливают чувствительность устройства, а резистором R5 — мощность выходного сигнала. Переговоры ведутся в таком режиме: вначале один абонент говорит в динамик, например ВА2, а другой слушает (динамик ВА1), потом находящийся в помещении производит переключение в режим передачи переключателем S1 и отвечает, говоря в свой динамик. В устройстве каждая динамическая головка используется одновременно как микрофон и как громкоговоритель.Домофон — переговорное устройство на К174УН14Простой домофон на имс КР142ЕН12АПростой домофон на двух транзисторахСхемы домофона
Оставлять комментарии могут только зарегистрированные пользователи
УМЗЧ с малыми искажениями на ИС К174УН7
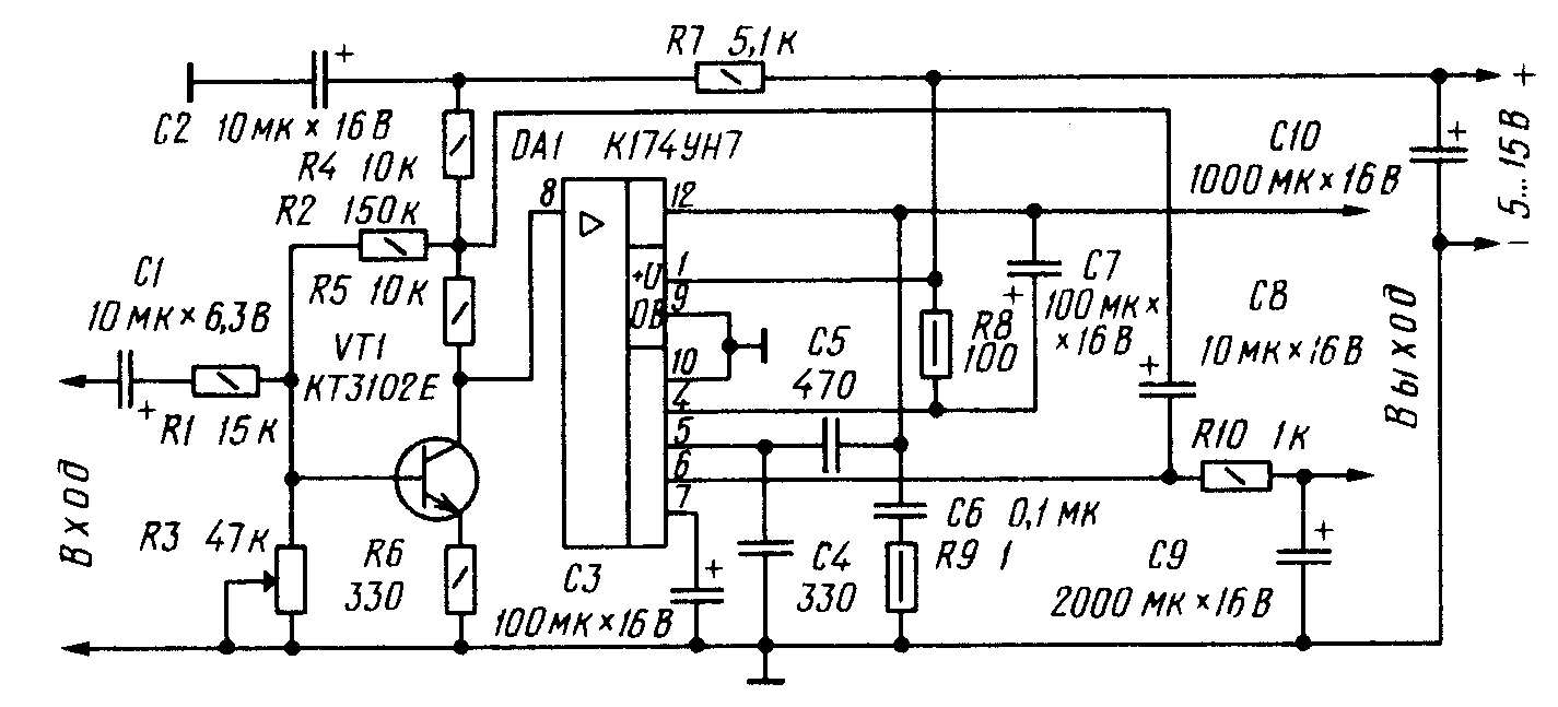
Усилители мощности, построенные на основе ИС К174УН имеют сравнительно высокий (до 10% при выходной мощности 4,5 Вт) коэффициент гармоник. В разное время радиолюбителями предлагались схемные решения, позволяющие снизить искажения до 1…2%, однако этого недостаточно для высококачественных усилителей ЗЧ.
![]()
Рис. 3. Схема УМЗЧ с малыми искажениями на ИС К174УН7.
Снижение искажений достугнуто введением дополнительного усилительного каскада и цепи ООС. Напряжение ООС снимается с делителя, образованного резистором R10 (нижнее плечо) и резистором сопротивлением 4…6 кОм (верхнее плечо), находящимся внутри ИС и включенным между выводами 6 и 12.
Дополнительный усилительный каскад позволяет снизить искажения, вносимые ИС, поскольку дает возможность увеличить глубину ООС, повысив сопротивление резистора R10.
Неизбежное снижение коэффициента усиления ИС компенсируется дополнительным каскадом усиления на транзисторе. При указанных на схеме номиналах элементов коэффициент усиления микросхемы DA1 составляет 4…6, а каскада на транзисторе VT1 — 10…12. Резистором R3 устанавливают симметричное ограничение полуволн сигнала при изменении напряжения питания в пределах 5…15 В.
Сборка усилителя
Схема проверенная и рабочая. Это простой моно усилитель, собран на микросхеме К174УН7. На эту микросхему необходим радиатор. Аналогами микросхемы являются TBA810AS и LA4420. Печатную плату можно сделать с помощью перекиси, этот метод очень доступен. Только для этой платы нужно 200 мл перекиси. Красная линия на печатной плате это ее граница, ее перед травлением нужно стереть. Плату можно питать от аккумуляторов, даже от 4 вольт. Еще в схеме еще регулировка звука с помощью переменного резистора на 40 кОм.

Проверить работу схемы просто. После подключения питания можно дотронуться пальцем до джека (вход усилителя). В динамике (выход усилителя) будет слышен резкий треск с фоновым шумом.
Пайку лучше начинать с проводов и мелких компонентов, например керамических конденсаторов или резисторов.
Микросхему нужно установить на радиатор и припаивать к плате последней.
Время пайки одного вывода за одно прикосновение паяльника не больше пары секунд, затем перерыв.

Если вывод плохо запаялся, подождите пока он остынет, снова нанесите флюс и паяйте. Радиатор немного экранирует тепло, но чтобы перестраховаться, пайка одного контакта не должна быть слишком долгой.

Типы микросхем
В настоящее время выпускается огромное количество типов микросхем. Практически любой законченный электронный узел, стандартный или специализированный, выпускается в микроисполнении. Перечислить и разобрать все типы в рамках одного обзора не представляется возможным. Но в целом по функциональному назначению микросхемы можно разделить на три глобальные категории.
- Цифровые. Работают с дискретными сигналами. Цифровые уровни подаются на вход, с выхода также снимаются сигналы в цифровом виде. Этот класс устройств охватывает область от простых логических элементов до самых современных микропроцессоров. Сюда же относятся программируемые логические матрицы, устройства памяти и т.п.
- Аналоговые. Работают с сигналами, изменяющимися по непрерывному закону. Характерный пример такой микросхемы – усилитель звуковой частоты. Также к этому классу относят интегральные линейные стабилизаторы, генераторы сигналов, измерительные датчики и многое другое. К категории аналоговых принадлежат и наборы пассивных элементов (резисторов, RC-цепей и т.п.).
- Аналогово-цифровые (цифро-аналоговые). Эти микросхемы не только преобразовывают дискретные данные в непрерывные или в обратную сторону. Исходные или полученные сигналы в том же корпусе могут усиливаться, преобразовываться, модулироваться, декодироваться и т.п. Широко распространены аналого-цифровые датчики для связи измерительных цепей различных технологических процессов с вычислительными устройствами.
Также микросхемы делятся по типу производства:
- полупроводниковые – выполняются на одном кристалле полупроводника;
- пленочные – пассивные элементы создаются на основе толстых или тонких пленок;
- гибридные – к пассивным пленочным элементам «подсаживаются» полупроводниковые активные устройства (транзисторы и т.п.).
Но для применения микросхем эта классификация в большинстве случаев особой практической информации не дает.
1.2 Основные особенности и отличия интегральных микросхем от схем на дискретных элементах
1. Микросхема самостоятельно выполняет какую-то
функцию, часто весьма сложную, которую можно осуществить с помощью большого
количества дискретных элементов соединенных по определенной схеме. Поэтому
интегральная микросхема должна рассматриваться не только как элемент с
определенными входными и выходными параметрами, но и как устройство с
определенной внутренней электрической схемой.
2. Усложнение функций выполняемых интегральными
микросхемами, в отличии от схем на дискретных элементах, практически не
сопровождается заметным ухудшением надежности, габаритных размеров и других
показателей.
3. Функциональная сложность и параметры
интегральных микросхем в значительной степени определяются возможностями
технологии их изготовления. Например, совершенствование технологии
обусловливает повышение степени интеграции элементов, это в свою очередь,
позволяет, с одной стороны, на том же кристалле реализовать более сложный
функциональный узел, с другой стороны, за счет сокращения длины соединений,
уменьшаются время задержки сигналов, паразитные емкости.
4. В ИМС при создании функционального узла
предпочтение отдается активным элементам перед пассивными. Это обусловлено тем,
что при одинаковой технологии изготовления тех и других, активные элементы
имеют меньшие размеры.
5. В ИМС реализуются некоторые типы элементов,
которые не имеют аналогов среди дискретных элементов (многоэмиттерные
транзисторы, элементы с инжекционным питанием, структуры с распределенными
параметрами, приборы с зарядовой связью). Их использование открывает широкие
возможности по построению микроэлектронной аппаратуры.
6. Элементы интегральных микросхем имеют
следующие отличия от дискретных элементов:
а). Элементы ИМС имеют большой разброс параметров
относительно расчетных, что обусловлено их малыми размерами, невозможностью
подгонки и подстройки и рядом других технологических особенностей.
б). Элементы ИМС , созданные в одном технологическом
цикле, характеризуются высокой идентичностью параметров и характеристик.
в). Имеет место ограничение номинальных значений
параметров сопротивлений и емкостей, что вызвано малой площадью отводимой под
эти элементы. Индуктивность в виде полупроводникового простого элемента не
реализуется вообще. Имеет место ограничение по мощности рассеивания тепла.
г). Для элементов ИМС характерно наличие ряда
паразитных параметров, отсутствующих в дискретных элементах (появление токов
утечки в подложку, появление емкости между элементом и подложкой, а также
наличие емкостных и индуктивных связей между близко расположенными элементами и
соединениями). Это является следствием создания элементов на единой подложке.
Презентация на тему: » УСИЛИТЕЛЬ НИЗКОЙ ЧАСТОТЫ НА МИКРОСХЕМЕ НА МИКРОСХЕМЕ К174УН7.» — Транскрипт:
1
УСИЛИТЕЛЬ НИЗКОЙ ЧАСТОТЫ НА МИКРОСХЕМЕ НА МИКРОСХЕМЕ К174УН7

2
ЦЕЛИ РАБОТЫ Собрать усилитель на микросхеме К174УН7 Провести исследование УХЧ Добиться максимально громкого воспроизведения звука

3
О МИКРОСХЕМЕ Микросхема представляет собой усилитель мощности звуковой частоты с номинальной выходной мощность 4,5 Вт на нагрузку 4 Ом. Микросхема предназначена для применения в телевизионной аппаратуре. Содержит 41 интегральный элемент. Конструктивно оформлена в корпусе типа Масса не более 2,0

4
КОРПУС ИМС 1 — питание +U и.п. ; 4 — цепь обратной связи для регулировки К у.u ; 5 — коррекция; 6 — обратная связь; 7 — фильтр; 8 — вход; 9 — общий — U и.п эмиттер выходного транзистора; 12 — выход;

5
ПРИНЦИПИАЛЬНАЯ СХЕМА УСИЛИТЕЛЯ

6
ПРИНЦИПИАЛЬНАЯ СХЕМА ИМС К174УН7

7
ТИПОВАЯ СХЕМА ВКЛЮЧЕНИЯ ИМС К174УН4

8
ЭЛЕКТРИЧЕСКИЕ ПАРАМЕТРЫ Номинальное напряжение питания 15 В ± 10% 2 Выходное напряжение при U п = 15 В, f вх = 1 к Гц 2,6…5,5 В 3 Максимальное входное напряжение при U п = 15 В, U вых = 3,16 В, f вх = 1 к Гц, Р вых = 2,5 Вт 30…70 мВ 4 Ток потребления при U п = 15 В 5…20 мА 5 Выходная мощность при R н = 4 Ома 4,5 Вт 6 Коэффициент гармоник при U п = 15 В, f вх = 1 к Гц: U вых = 4,25 В, Р вых = 4,5 Вт U вых = 0,45 В, Р вых = 0,05 Вт U вых = 3,16 В, Р вых = 2,5 Вт > 10 % > 2 % > 2 % 7 Коэффициент усиления по напряжению при Т= -10…+55 ° С 45 8 Входное сопротивление при U п = 9 В, f вх = 1 к Гц 30 к Ом 9 Диапазон рабочих частот 40… Гц 10 Коэффициент полезного действия при P вых = 4,5 Вт 50 %

9
ПРЕДЕЛЬНО ДОПУСТИМЫЕ РЕЖИМЫ ЭКСПЛУАТАЦИИ 1 Напряжение питания 13,5…16,5 В 2 Амплитуда входного напряжения > 2,0В 3 Постоянное напряжение: на выводе 7 на выводе 8 > 15 В 0,3…2,0 В 4 Сопротивление нагрузки 4 Ом 5 Тепловое сопротивление: кристалл-корпус кристалл-среда 20 ° С/Вт 100 ° С/Вт 6 Температура окружающей среды -10…+55 ° С 7 Температура кристалла + 85 ° С

10
ОБЩИЕ РЕКОМЕНДАЦИИ ПО ПРИМЕНЕНИЮ Не допускается эксплуатация микросхемы без дополнительного теплоотвода при мощности в нагрузке более 0,27 Вт. При температуре корпуса выше 60 ° С максимальная рассеиваемая мощность рассчитывается по формуле Р=(150-Т корп )/20, Вт (с теплоотводом), где Т корп — температура на поверхности теплоотвода у основания пластмассового корпуса микросхемы. Допускается кратковременное (в течении 3 мин) увеличение напряжения питания до 18 В. Подача постоянного напряжения от внешнего источника на выводы 5, 6 и 12 микросхемы недопустима. Выходное сопротивление источника питания должно быть не более 0,05 Ом.


К174КН1
Микросхема К174КН1 представляет
собой формирователь сигнала блокировки
АПЧГ с возможностью последовательного
переключения каналов в обоих направлениях
при управлении сигналами дистанционного
управления в трехразрядном двоичном коде.
Предположительно, разработана в ходе ОКР
«Фортуна»
Микросхема предназначена для использования
в блоке управления телевизоров черно-белого
и цветного изображения в качестве
восьмиканального коммутатора. Справочный лист
и данные из
отраслевого каталога на неё.
Самое примечательное в ней —
производитель. Логотип принадлежит
объединению МЭЛЗ
(Московский электроламповый завод), увидеть
его на микросхеме весьма неожиданно. Дело в
том, что микросхема выпущена московским
заводом «Цвет», который входил в
объединение.
Кстати, она представляет собой
дальнейшее развитие микросхемы К421КН1
того же завода «Цвет».
Сборка усилителя
Схема проверенная и рабочая. Это простой моно усилитель, собран на микросхеме К174УН7. На эту микросхему необходим радиатор. Аналогами микросхемы являются TBA810AS и LA4420. Печатную плату можно сделать с помощью перекиси, этот метод очень доступен. Только для этой платы нужно 200 мл перекиси. Красная линия на печатной плате это ее граница, ее перед травлением нужно стереть. Плату можно питать от аккумуляторов, даже от 4 вольт. Еще в схеме еще регулировка звука с помощью переменного резистора на 40 кОм.

Проверить работу схемы просто. После подключения питания можно дотронуться пальцем до джека (вход усилителя). В динамике (выход усилителя) будет слышен резкий треск с фоновым шумом.
Пайку лучше начинать с проводов и мелких компонентов, например керамических конденсаторов или резисторов.
Микросхему нужно установить на радиатор и припаивать к плате последней.
Время пайки одного вывода за одно прикосновение паяльника не больше пары секунд, затем перерыв.

Если вывод плохо запаялся, подождите пока он остынет, снова нанесите флюс и паяйте. Радиатор немного экранирует тепло, но чтобы перестраховаться, пайка одного контакта не должна быть слишком долгой.

DataSheet
| Типовая схема включения ИМС К174УН7 в качестве усилителя мощности. При нагрузках 8 или 16 Ом емкость конденсатора должна быть 500 или 100…200 мкФ соответственно | Корпус типа 201.12-1 |
| Электрическая схема включения | Типовая схема включения микросхемы К174УН7 |
| Принципиальная схема мостового усилителя мощности низкой частоты на двух микросхемах К174УН7 (21) | Принципиальная схема генератора стирания и подмагничивания для магнитофона на микросхеме К174УН7 (21) |
Описание Микросхема представляет собой усилитель мощности звуковой частоты с выходной мощностью 4,5 Вт. Предназначена для работы в телевизионной аппаратуре. Содержит 41 интегральный элемент. Корпус типа 201.12-1, масса не более 2 г (ТУ 1986 г.).
Назначение выводов: 1 — напряжение питания (+Uп); 6 — цепь обратной связи для регулировки Ку,U; 7 — коррекция; 8 — обратная связь; 9 — фильтр; 10 — вход; 11, 14 — напряжение питания (—Uп); 16 — выход.
Общие рекомендации по применению
При монтаже микросхемы необходимо предусматривать наименьшую длину соединений между выводами и навесными элементами для уменьшения влияния паразитных связей. Температура пайки при монтаже микросхемы 235±5 °С, расстояние от основания корпуса до места пайки не менее 1,5 мм, продолжительность пайки не более 6 с. При проведении монтажных операций допускается не более двух перепаек выводов микросхемы. Допускается использовать микросхему с нагрузкой не менее 4 Ом. При увеличении сопротивления нагрузки выходная мощность уменьшается. Допускается использовать микросхему при напряжении питания менее 15 В; при этом выходная мощность снижается. Не допускается эксплуатация микросхемы без дополнительного теплоотвода при мощности в нагрузке более 0,27 Вт. При температуре корпуса выше 60 °С максимальная рассеиваемая мощность рассчитывается по формуле Р = ( 150-Ткорп)/20, Вт (с теплоотводом), где Ткорп — температура на поверхности теплоотвода у основания пластмассового корпуса микросхемы. Допускается кратковременное (в течение 3 мин) увеличение напряжения питания до 18 В. Подача постоянного напряжения от внешнего источника на выводы 5 ,6 и 12 микросхемы недопустима. Допустимое значение статического потенциала 500 В. Выходное сопротивление источника питания должно быть не более 0,05 Ом.
| Электрические параметры | |||
| Параметры | Условия | К174УН7 | Ед. изм. |
| Номинальное напряжение питания | — | 15±10% | В |
| Выходное напряжение | при Uп = 15 В, fвх = 1 кГц | 2,6…5,5 | В |
| Максимальное входное напряжение | при Uп = 15 В, Uвых = 3,16 В, fвх = 1 кГц, Pвых = 2,5 Вт | 30…70 | мВ |
| Ток потребления | при Uп = 15 В | ≤5…20 | мА |
| Выходная мощность | при Rн = 4 Ом | 4,5 | Вт |
| Коэффициент гармоник | при Uп = 15 В, Uвых = 4,25 В, fвх = 1 кГц, Pвых = 4,5 Вт | ≤10 | % |
| при Uп = 15 В, Uвых = 0,45 В, fвх = 1 кГц, Pвых = 0,05 Вт | ≤2 | ||
| при Uп = 15 В, Uвых = 3,16 В, fвх = 1 кГц, Pвых = 2,5 Вт | ≤2 | ||
| Коэффициент усиления по напряжению | при Т = -10…+55 °С | ≥45 | — |
| Диапазон рабочих частот | — | 40…20×103 | Гц |
| Значение КПД | при Pвых = 4,5 Вт | ≥50 | % |
| Входное сопротивление | — | ≥30 | кОм |
| Предельно допустимые режимы эксплуатации | |||
| Параметры | Условия | К174УН7 | Ед.изм. |
| Напряжение питания | — | 13,5…16,5 | В |
| Амплитуда входного напряжения | — | ≤2 | В |
| Постоянное напряжение | на выводе 7 | ≤15 | В |
| на выводе 8 | 0,3…2 | ||
| Сопротивление нагрузки | — | ≥4 | Ом |
| Тепловое сопротивление | переход—среда | 100 | °С/Вт |
| переход—корпус | 20 | ||
| Температура корпуса | — | 85 | °С |
| Температура окружающей среды | — | -10…+55 | °С |
| Зависимость выходного напряжения от напряжения питания при Rн = 4 Ом, Kr = 10%, Т = +25 °С. Заштрихована область разброса значений параметров для 95 % микросхем. Сплошной линией показана типовая зависимость | Амплитудно-частотная характеристика |
| Зависимость коэффициента гармоник от выходной мощности | Зависимость коэффициента гармоник от частоты |
| Зависимость выходной мощности от напряжения питания при Rн = 4 Ом, Kr = 10%, Т = +25 °С. Заштрихована область разброса значений параметров для 95 % микросхем. Сплошной линией показана типовая зависимость |
Если вы нашли ошибку, пожалуйста, выделите фрагмент текста и нажмите Ctrl+Enter.
Типовое включение ИС К174УН7
Рис. 1. Схема усилителя звука на основе микросхемы К174УН7.
Эта микросхема получили широкое распостранение во многих радиолюбительских и промышленных конструкциях. Схемы на еге основе отличаются простотой, дешевизной и надежностью.
Несмотря на невысокие электрические параметры и качественные показатели, в большинстве случаев этого бывает достаточно, особенно для малогабаритной и бытовой аппаратуры.
Усилитель, описанный ниже, имеет выходную мощность 4 Вт при напряжении питания 15 В и сопротивлении нагрузки 4 Ом. Входное сопротивление 80 кОм, ток потребления до 500 мА. Чувствительность усилителя около 100 мВ.
Микросхему К174УН7 во всех случаях можно заменить на А210К, МВА810Б.





























