Применение
Данную микросхему широко использовали в различных генераторах сигналов (синусоида, пила и др.), микшерах, эквалайзерах, темброблоках, слуховых аппаратах, переговорных устройствах и даже блоках питания. Она распространёна в предварительных каскадах усиления звуковой частоты (20-20000 Гц), стереофонической бытовой и студийной аппаратуре записи и воспроизведения, магнитных головках магнитофонов и др. Широко известна и популярна схема металлоискателя «Пират», где также применяется NE555, транзистор irfs630 или irf740. Но несмотря на все плюсы, по заявленным характеристикам она все равно уступает современным ОУ.
Советуем Вам проверить информацию о содержании драгоценных металлов в К157УД2, так как некоторые модели могут иметь ценность даже в нерабочем состоянии, особенно продукция старого образца.
Lm2576t adj схема включения с дополнительным транзистором
Лабораторный блок питания на базе импульсного стабилизатора LM2576T-ADJ с регулировкой выходного напряжения 0-30В и тока 0-3А , с функцией ограничения выходного тока и индикацией режима ограничения при помощи светодиода.
Все мы очень давно знакомы с линейными стабилизаторами напряжения, особенно с трёхвыводными в корпусах TO-220 типа 7805, 7812, 7824 и LM317. Они недорогие и легко доступны. Их малошумящая и быстрая переходная характеристика делают их идеальными для многих применений. Но им присущ один недостаток — неэффективность (очень низкий КПД). Например, при подаче на стабилизатор 7805 напряжения 12В и при токе нагрузки 1А, на стабилизаторе будет рассеиваться мощность 7Вт при мощности нагрузки 5Вт. Поэтому требуется большой радиатор для охлаждения самого стабилизатора. Когда важна эффективность, например при работе от батареи, необходимо выбирать импульсный стабилизатор. Фактически, самое современное оборудование использует импульсные источники питания и импульсные регуляторы или стабилизаторы. Но много радиолюбители уклоняются от импульсных регуляторов, поскольку, например, использование популярной LM3524 требует большого количества внешних деталей и внешнего коммутационного транзистора. Кроме того строгие требования для катушки индуктивности. Как выбрать правильно, и где их взять? К счастью, более новый импульсный регулятор типа LM2576 от National Semiconductor’s позволяет собирать импульсный стабилизатор с высоким КПД так же легко, как и с помощью 7805 и т.п. Микросхема выпускается в пятивыводном привычном корпусе типа TO-220 и корпусе ТО-263 для поверхностного монтажа. Диапазон питающих напряжений 7-40В постоянного тока. КПД — до 80%. Выходной ток — до 3А и на несколько напряжений (3.3V, 5 V, 12V, 15V), а также и в версии регулируемого выходного напряжения, что представляет для нас особенный интерес. При проектировании с использованием импульсного стабилизатора получается малый размер платы, кроме того необходим радиатор с малой площадью поверхности, обычно не более 100 см. кв. Частота преобразования стабилизатора 52 кГц. Есть серия высоковольтных стабилизаторов с маркировкой HV с диапазоном входных напряжений 7-60В и возможностью регулировки выходного напряжения до 55В.
Приведенная на рисунка схема лабораторного блока питания на базе импульсного стабилизатора LM2576T-ADJ с регулировкой выходного напряжения в диапазоне 0-30В и возможностью ограничения тока нагрузки в диапазоне 0-3А найдена в сети Интернет и подробно рассмотрена здесь на форуме сайта http://vrtp.ru. Кстати, замечательный сайт, рекомендую к посещению Свечение светодиода указывает на включение режима ограничения выходного тока, что очень удобно при проверке и ремонте радиоэлектроных устройств.
Чтобы облегчить режим работы стабилизатора 7805 (в корпусе ТО-92) и для повышения верхнего предела напряжения Uвх, последовательно с U2 установлен стабилитрон VD1. Схема регулирования тока и напряжения собрана на сдвоенном компараторе LM393. На первой половинке U3.1 собран регулятор напряжения, а на второй половинке U3.2 собран регулятор тока. На транзисторном ключе Q1 собран узел индикации включения режима ограничения выходного тока. Номинальный ток дросселя необходимо выбирать не менее тока нагрузки. Возможно пиатние слаботочной части схемы от отдельного источника напряжения с подачей его непосредственно на вход U2, при этом стабилитрон VD1 не устанавливается. Хорошо работает с низкоомной нагрузкой. Без изменения схемы, в ней можно применять импульсные стабилизаторы LM2596T-ADJ с частотой преобразования 150 кГц и диапазоном питающих напряжений 4,5-40В. Выходной ток — до 3А. КПД — до 90%.
Размеры печатной платыы блока питания 72х52 мм, расстояние между осями переменных резисторов 30 мм.:
Видео работы стабилизатора (без слов) приведено ниже. Поскольку сборка и проверка устройства велась в г. Донецке в то время, когда за окном рвались снаряды, то не было никакой охоты ничего рассказывать. Да и собирать его не хотелось, но нужно было как-то отвлечься от действительности. Надеюсь Вы меня поймёте.
Стоимость печатной платы с маской и маркировкой: закончились
Стоимость набора деталей с печатной платой для сборки блока питания (без радиатора): временно нет в наличии
Стоимость собранной и проверенной платы блока питания (без радиатора): временно нет в наличии
Краткое описание, схема и перечень компонентов набора здесь >>>
Для покупки печатных плат, наборов для сборки и готовых собранных блоков обращайтесь сюда >>> или сюда >>>
Всем удачи, мирного неба, добра, 73!
Сборка
Заключительным этапом создания самодельного металлоискателя «Пират», является полная сборка всех элементов. Необходимо сделать следующее:
Подготавливается удобный держатель. Можно использовать пластиковую трубу или черенок от садового инструмента. Главный плюс трубы в том, что можно изготовить держатель изогнутой формы.
Собранная печатная плата помещается в пластиковый контейнер с герметичной крышкой. Защитный корпус платы можно закрепить на держатель при помощи шурупов. Не обязательно, чтобы плата находилась вместе с батареей в одном корпусе. На стенку защитного корпуса платы можно вывести штекер для соединения с отдельным отсеком под батарею.
Подготовленная катушка также крепиться к нижнему концу держателя
Очень важно закрепить деталь с использованием ненамагничивающихся крепежей. Лишнее магнитное поле снизит чувствительность изделия.
К обоим выводам катушки припаивается многожильным медный провод, с толстой изоляцией.
Один конец катушки соединяется с клеммой «+» на контакте передатчика.
Второй конец соединяется с корпусом устройства или с минусом на плате.
Для обеспечения приема сигнала можно использовать обычный динамик от приемника сопротивлением 8 Ом или наушники. Для визуального контроля к выводу динамика можно соединить светодиод.
↑ Реинкарнация шкафа в трехполосную колонку
Идея собрать АС самому родилась давно, но не было то времени, то возможности. Наконец собравшись, решил, что пора. До этого был опыт в сабвуферостроении. В качестве материала был использован ДСП толщиной 20 мм. Для этого был отправлен на переработку шкаф и пара полок. Все было выпилено электролобзиком в школе (спасибо ученикам 9 «Б» класса). По размерам: 850×170×260 мм. НЧ секция отделена перегородкой и получившийся объем НЧ секции оказался равным 35 литров.
Фазоинвертор насторен на 45 Гц (хотел пониже, но ФИ нужен был слишком длинным, для габаритов колонки), на фото общий вид, того, что получилось.
Изнутри все укреплено брусом 20×20, который посажен на ПВА, и все промазано герметиком. Снаружи колонки прошпаклеваны и покрыты шпоном (не ругайте строго, я клеил шпон первый раз, видны косяки). Далее планирую обклеить уголками (есть сколы шпона), и покрыть лаком.
Неисправности
Во время первого запуска или последующей работы, у данного металлоискателя возникает ряд технических проблем. Они могут быть следующими:
Отсутствие реакции на металлические предметы. Проблема может возникнуть по причине неисправности транзистора Т1 или диодов. Стоит проверить эти элементы, и при необходимости заменить их.
На транзисторной схеме, часто греется транзистор IRF740. Устранить проблему можно заменой резистора R6 сопротивлением 150 Ом на деталь с сопротивлением 100 Ом. Если проблема не пропала, то необходимо подобрать резистор меньшего сопротивления.
Нагрев резистора R6 или транзистора Т3. В этом случае проблема кроется в динамике
Очень важно подобрать этот элемент с сопротивлением равным 8 Ом.
У металлоискателя Пират очень простая схема. В ней нет сложных радиодеталей. Главное соблюсти все требуемые параметры по напряжению и сопротивлению катушки.
После того, как металлоискатель прошел первое успешное тестирование, его можно доработать. Энтузиасты дополняют устройство световыми индикаторами, индикаторами заряда батареи. Прибор также можно использовать для подводных поисков. Для этого придется защитить обмотку и выводы катушки плотным, герметичным корпусом. В воде, параметры чувствительности прибора не уменьшаются.
Основная проблема «Пирата» — это дискриминация. Устройству сложно различать предметы из разного рода металлов. Для обнаружения золота, владельцу придется научиться отличать частотные сигналы от намагничиваемых предметов.
Классическая тиристорная схема регулятора
Классическая тиристорная схема регулятора мощности паяльника не соответствовала одному из главных моих требований, отсутствию излучающих помех в питающую сеть и эфир. А для радиолюбителя такие помехи делают невозможным полноценно заниматься любимым делом. Если схему дополнить фильтром, то конструкция получится громоздкой. Но для многих случаев использования такая схема тиристорного регулятора может с успехом применяться, например, для регулировки яркости свечения ламп накаливания и нагревательных приборов мощностью 20-60вт. Поэтому я и решил представить эту схему.
Для того, чтобы понять, как работает схема, остановлюсь подробнее на принципе работы тиристора. Тиристор, это полупроводниковый прибор, который либо открыт, либо закрыт. чтобы его открыть, нужно на управляющий электрод подать положительное напряжение 2-5 В в зависимости от типа тиристора, относительно катода (на схеме обозначен k). После того, как тиристор открылся (сопротивление между анодом и катодом станет равно 0), закрыть его через управляющий электрод не возможно. Тиристор будет открыт до тех пор, пока напряжение между его анодом и катодом (на схеме обозначены a и k) не станет близким к нулевому значению. Вот так все просто.
Работает схема классического регулятора следующим образом. Сетевое напряжение переменного тока подается через нагрузку (лампочку накаливания или обмотку паяльника), на мостовую схему выпрямителя, выполненную на диодах VD1-VD4. Диодный мост преобразует переменное напряжение в постоянное, изменяющееся по синусоидальному закону (диаграмма 1). При нахождении среднего вывода резистора R1 в крайнем левом положении, его сопротивление равно 0 и когда напряжение в сети начинает увеличиваться, конденсатор С1 начинает заряжаться. Когда С1 зарядится до напряжения 2-5 В, через R2 ток пойдет на управляющий электрод VS1. Тиристор откроется, закоротит диодный мост и через нагрузку пойдет максимальный ток (верхняя диаграмма).
При повороте ручки переменного резистора R1, его сопротивление увеличится, ток заряда конденсатора С1 уменьшится и надо будет больше времени, чтобы напряжение на нем достигло 2-5 В, по этому тиристор уже откроется не сразу, а спустя некоторое время. Чем больше будет величина R1, тем больше будет время заряда С1, тиристор будет открываться позднее и получаемая мощность нагрузкой будет пропорционально меньше. Таким образом, вращением ручки переменного резистора, осуществляется управление температурой нагрева паяльника или яркостью свечения лампочки накаливания.
Выше приведена классическая схема тиристорного регулятора выполненная на тиристоре КУ202Н. Так как для управления этим тиристором нужен больший ток (по паспорту 100 мА, реальный около 20 мА), то уменьшены номиналы резисторов R1 и R2, а R3 исключен, а величина электролитического конденсатора увеличена. При повторении схемы может возникнуть необходимость увеличения номинала конденсатора С1 до 20 мкФ.
Блок фильтров
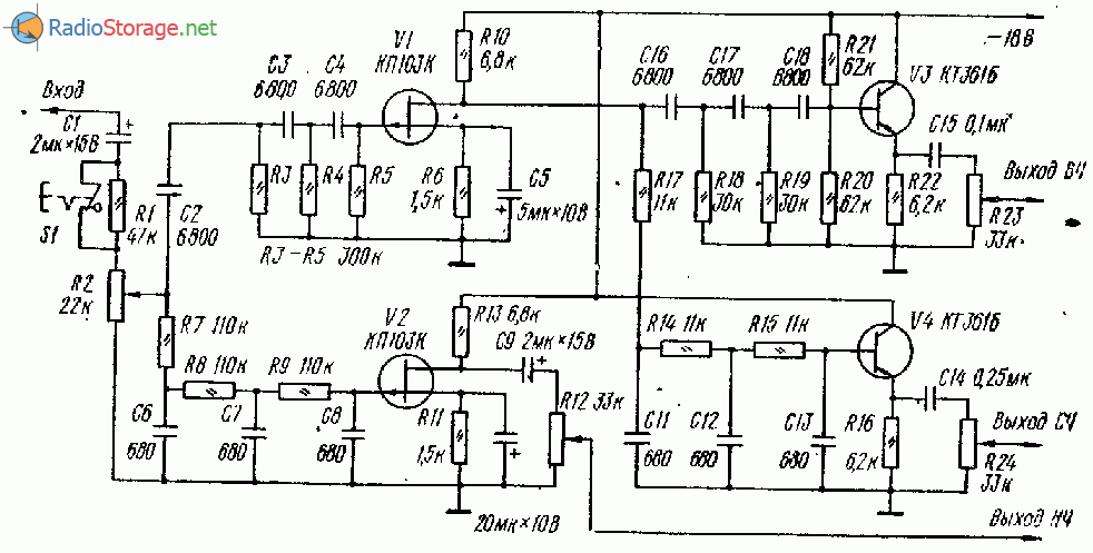
Блок фильтров содержит переключатель уровня сигнала (S1), регулятор громкости (R2), два усилительных каскада (V1, V2) с включенными на входе фильтрами верхних (C2R3C3R4C4R5) и нижних (R7 C6 R8 C7 R9 C8) частот и два эмиттерных повторителя (VЗ, V4) также с фильтрами верхних (C16 R18 C17 R19 C18 R20) и нижних (R17 C11 R14 C12 R15 C13) частот на входе.
![]()
Частоты среза первых двух фильтров — 400 Гц, вторых — 4000 Гц. Таким образом, с движка переменного резистора R12 на вход соответствующего полосового усилителя поступают составляющие частотой ниже 400 Гц, с движка резистора R24 — частотой от 400 до 4000 Гц, а с движка резистора R23 — частотой выше 4000 Гц.

Каждый из полосовых усилителей мощности выполнен на одном ОУ и двух комплементарных парах транзисторов. Схемы усилителей СЧ и НЧ полос сигнала практически идентичны и отличаются только тем, что последний охвачен цепью положительной обратной связи (ПОС) по току.
Сигнал этой связи снимается с движка подстроечного резистора R10 и чёрез резистор R9 подается на неинвертирующий вход ОУ А3. Выходные каскады усилителей СЧ и НЧ полос работают в режиме В, усилителя ВЧ полосы — в режиме АВ.
Согласующий трансформатор: сущность и принцип действия
СТ (аббревиатура данного трансформатора) – это агрегат, который передаёт частотные сигналы в разном спектре с наименьшими сбоями и стабильным показателем передачи сигналов.
Состав
- указанная подложка (цифра 1 на схеме),
- проводники (цифры 2-4),
- полосковый проводник (5),
- металлизация (6),
- щелевой контур (7),
- ферритная пластина (8),
- вторая металлизация (9),
- зазоры (10, 11)
- вспомогательные щелевые участки (12, 13).
Принципы работы СТ отражается в таком алгоритме:
- В обмотку 4 поступает сигнал. С помощью пластины и металлизации (6) проводники (2-4) связываются друг с другом.
- С одной стороны добавляется проводник (4), со второй – металлизация (9).
Благодаря связям проводников частоты сокращаются вдвое.
Аналоги
Наиболее полным аналогом К157УД2 является микросхема КР1434УД1А. Она упакована в тот же корпус и имеет то же расположение выводов. Электрические параметры также полностью совпадают. Класс точности – средний. Единственное отличие предлагаемая для замены микросхема может питаться от источника напряжения до 22 В.
Также рассматриваемую ИМС можно заменить на К157УД3. Эта модель по всем параметрам аналогична исходной. Однако она отличается меньшим уровнем шумов и поэтому при ее использовании можно получить лучшие характеристики усилителя.
Также К157УД2 можно заменить сдвоенным операционным усилителем КР140УД20Б. Среди зарубежных изделий полностью идентичных устройств не существует. Можно только подобрать по функциональным признакам. Например, установить два одинарных операционных усилителя LM301.
Схемы
Собирать металлоискатель Пират можно с использованием различных микросхем, а также транзисторов. От выбора электронного компонента будет зависеть проникающая способность катушки, ширина обнаружения, а также величина частоты и скорости приема сигнала. Также новичку будет удобнее использовать транзисторы, так как их легко найти в старой аппаратуре. Далее более подробно о разновидностях схем устройства.
NE555
Выбирая схему металлоискателя Пират на микросхеме NE555 стоит учитывать, что этот компонент будет выступать в роли усилителя частоты для передатчика прибора. Приемник для такой схемы может быть собран на микросхеме К157УД2.
Такой принцип поможет усилить сигнал от передатчика, а также намного снизить помехи при использовании катушки более широкого диаметра.
TL072
Металлоискатель Пират можно собрать на микросхеме TL072. Этот компонент станет основой приемника устройства. Таких элементов понадобится 2. В схеме с этим элементом будет использована микросхема NE555, как основа для передатчика. Такая подборка не влияет на качество проникающей способности, но значительно стабилизирует рабочую частоту, выравнивает тональность сигнала, значительно снижает помехи.
Это особенно важно при взаимодействии с крупными и многочисленными намагничиваемыми предметами, залегающими в сырой почве на разной глубине
Транзисторы
Схема металлоискателя Gират на транзисторах значительно проще. Ее выбирают в случае, если трудно найти ранее описанные микросхемы. В подобной схеме, транзисторы выступают основой для частотного генератора и приемника. Главный недостаток использования этих элементов заключается в сложности последующей настройки. Транзисторы обладают очень узкой возможностью для увеличения параметров частот, посылаемых генератором сигналов. Также этот параметр будет трудно подстроить под принимающей узел будущего устройства. Для тонких настроек и корректировки понадобится осциллограф. Основным плюсом выбранной схемы является ее большая устойчивость к перегреву переменных резисторов.
Более дорогие и сложные микросхемы приходят в негодность при возникновении высокой температуры из-за наличия в устройстве резисторов с высоким сопротивлением.
К561LA7
Последняя схема предполагает в своей основе микросхему К561LA7. Этот элемент делиться на 4 сектора:
- 2 сектора используются в качестве частотного генератора. Именно такой принцип позволяет получать высокий сигнал и сохранять его при увеличении диаметра катушки на 3–5 сантиметров.
- Сектор 3 отвечает за прием отраженного сигнала от металлического предмета в почве. Также намного увеличивается частота реакции на намагничиваемые предметы и драгоценные металлы. Дискриминация не является высокой, но при определенном опыте эксплуатации можно научится определять металл по звуку.
- Сектор 4 является фильтром сигналов. Он сопоставляет уровень отправленного и принятого импульса, передает на усилитель конечную частотную тональность. Этот сектор очень важен при наличии в земле предметов, размером не превышающих диаметр монеты.
Данная схема очень хорошо подходит для последующих настроек. Наличие встроенного фильтра может значительно повысить возможность обнаружения золота, среди намагничиваемых элементов в почве.
Простая схема усилителя звука изготовленного своими руками
При создании самодельного устройства, радиолюбителю приходится решать много различных задач. Одна из них связана с выходной мощностью, которая ограничивается напряжением питания. Прежде всего, это касается систем для автомобиля, так как они получают питание от бортовой сети. Образцовым вариантом будет приминение отдельных микросхем. Схема полного усилителя звука — это предварительный каскад с эффективными регуляторами тембра и оконечный блок. Предложенная конструкция содержит следующие характеристики:
- Выходная мощность – 20 W X 2
- Полоса частот – 40 – 18 000 Гц
- Коэффициент искажений – 1,0%
- Напряжение питания – 8-18 В
Усилитель звука для колонок схема печатной платы Мощный усилитель на микросхеме собранный своими руками можно использовать в домашних условиях или установить в автомобиле.
Плата
Для изготовления платы под монтаж радиодеталей, необходимо скачать любую из предоставленных схем. Далее понадобится:
- Вырезать из пластика или текстолита заготовку нужного размера. Все размеры плат под описанные схемы будут представлены ниже.
- На заготовку перевести изображение.
- При помощи перманентного маркера обвести все дорожки на рисунке.
- Протравить заготовку. На 100 мл перекиси водорода необходимо 30 грамм лимонной кислоты и 5 грамм соли. В получившийся состав помещается заготовка на 30 минут.
- Далее необходимо очистить поверхность дорожек на плате наждачной бумагой, обезжирить ее спиртом.
- После обезжиривания, просверлить тонким сверлом отверстия под радиодетали.
- На конечном этапе, поверхность платы снова обезжирить и полностью залудить дорожки оловом.
- После этой операции снова высверлить отверстия.
Если нет возможности или опыта для создания платы описанным способом, можно просто перевести изображение на поверхность пластика. Далее просверлить отверстия под ножки элементов. Дорожки можно не использовать. Все элементы спаять при помощи медного, одножильного провода. Такой подход более трудоемкий, может привести к большому количеству ошибок при соединении и плохим контактам пайки. Но для первого монтажа можно воспользоваться и им.
При подготовке плат, под выбранную схему, нужно учитывать габариты заготовки. Они следующие:
- При выборе схемы с микросхемой NE555 — габариты платы варьируются в пределах 30 на 80 мм.
- Для транзисторной схемы — 30 на 76 мм.
- Для микросхемы с TL072 — габариты в пределах 26 на 35 мм.
- Если выбрана микросхема К561ЛА7, то размер платы составляет 30 на 75 мм.
После подготовки печатной платы «Пирата», нужно обязательно провести тест всех компонентов при помощи мультиметра, и собрать схему на плате.
После сборки печатной платы, требуется изготовить катушку — элемента для сканирования поверхности почвы. Инструкция по сборке далее.
Тестирование темброблока.
На картинке схема включения блока регуляторов при снятии Амплитудно-Частотных Характеристик (АЧХ).
Я использовал для снятия АЧХ программу «SpectraLAB», как в качестве Генератора Качающейся Частоты (ГКЧ), так и в качестве анализатора спектра.
Правда, пришлось запустить сразу две копии программы. ГКЧ на одном компьютере, а анализатор на другом.
При запуске генератора и анализатора на одном и том же компьютере, из-за малого затухания между входами и выходами моей встроенной аудио карты, погрешность измерения была неприемлемой.
На графике АЧХ блока регуляторов при включённой тонкомпенсации и среднем положении регуляторов ВЧ и НЧ.
АЧХ темброблока, снятая при максимальном подъёме (верхняя кривая) и максимальном завале (нижнаяя кривая) ВЧ и НЧ.
Характеристики
Теперь перейдём к рассмотрению технических характеристик микросхемы К157УД2:
- Оптимальное напряжение питания Uпит= ± 15 В;
- Диапазон питающих напряжений Uпит= от ± 3 до 18 В;
- Наибольшее напряжение на выходе (при таких исходных параметрах Uпит= ± 15 В, Uвх= ± от 25 до 200 мВ) Uвых max≥ ±13 В;
- Напряжение смещения (измерено при Uпит= ± 15 В, Uвых≤ 1,2 В) Uсм ≤ ±5 мВ;
- Ток на входе (режимы измерения Uпит = ± 15 В, Uвых ≤ 2,2 В) Iвх.≤ 500 нА;
- Разность токов входа (режимы измерения Uпит = ± 15 В, Uвых ≤|2,2| В) Iвх разн ≤ 150 нА;
- Потребляемый ток ( измерено при Uпит = ± 15 В) I ≤ 7 мА;
- Ток КЗ (режимы измерения Uпит = ± 15 В, Uвх = ± (от 20.до.180) мВ) Iкз ≤ 45 мА;
- К-т усиления напряжения Uпит = ± 15 В:
- Uвых = ±10 В, f= от 0 до 50 Гц — Ку ≥ 50*10³;
- Uвых = ±7 В, f = 20 кГц Ку ≥ 300;
- К-т ослабления напряжений на входе (режимы измерения Uпит = ± 15 В, Uвх = 1 В, f≤ 50 Гц) Косл≥ 70 дБ;
- К-т проникания сигналов (режимы измерения Uпит = ± 15 В, Uвых = 7 В, f= 1 кГц) Кпр≤ -80 дБ;
- Среднее смешение нуля ( режимы измерения Uпит = ± 15 В, T= -25…+70 °C) меньше ±50 мкВ/°C;
- Средняя разность токов на входе ( режимы измерения Uпит = ± 15 В, T= от -25.до.+70 °C) меньше ≤ ±5 нА/°C;
- Частота усиления импульса ( режимы измерения Uпит = ± 15 В, Uвх= 9…10 мВ, Uвых= 9…10 мВ) fед ≥ 1 МГц;
- Наибольшая скорость увеличения напряжения на выходе ( режимы измерения Uпит = ± 15 В, Uвых= +10…11 В, f= 5…10 кГц) больше 0,5 В/мкс.
Согласно справочникам в К157УД2 содержится 0,00398 г. золота.
Цифровой регулятор громкости на BA3520
Операционные усилители (ОУ) внутри — обычные, с той лишь разницей, что некоторые резисторы обратной связи уже установлены в микросхеме. Выходной ток предварительных усилителей — несколько миллиампер, выходных — около сотни миллиампер. На рисунках указаны рекомендуемые схемы включения, но, в принципе, ОУ можно включать по любой стандартной схеме, за исключением, разве что, дифференциальной.
Если слишком большое усиление не требуется, предваритепьные уси- лители можно не использовать, подав входной сигнал непосредственно на выходные усилители (их коэффициент усиления при максимальной громкости — около 7). При этом входы предварительных усилителей желательно соединить с выходом REF микросхемы. Если использовать эти микросхемы для замены переменного резистора, сигнал на входы лучше подавать через резисторы сопротивлением около 100 кОм (для компенсации усиления выходных усилителей), как показано на рис.За.
И вообще, во всех схемах с использованием ВА3520 сигнал на входы оконечных усилителей лучше подавать через резисторы сопротивлением не менее 10 кОм. Это значительно уменьшает шумы на выходе (микросхема “не любит” слишком низкоомные источники сигнала), но выход предварительного усилителя микросхемы можно соединять со входом оконечного непосредственно. К ТА8119 это тоже относится, хотя выражено гораздо слабее.
Для более плавной регулировки громкости в микросхеме ТА8119Р и ВА3520, а также для устранения “шороха” при вращении движка переменного резистора, между движком и общим проводом рекомендуется включить конденсатор емкостью 1…10 мкФ (“+” к движку). При “частичной неисправности” переменного резистора (перегорела или истерлась дорожка возле одного из крайних выводов) можно “выкрутиться”, несколько усложнив схему.
Переменный регулятор громкости на резисторе, транзисторе, микросхеме
Если перегорел контакт, к которому подводится движок резистора для установки минимальной громкости, используется схема на рис.36 или рис.Зв. Здесь резисторы R1 и R2 образуют делитель напряжения. Но следует отметить, что напряжение в средней точке такого делителя никогда не уменьшится до нуля: при указанных номиналах резисторов оно превышает 0,3 В. т.е. “нулевая” громкость недостижима.
Для устранения этого недостатка в схему добавлен повторитель на транзисторе VT1. При таком напряжении он все еще закрыт (порог открывания — около 0.6 В). В схеме на рис.3б достичь максимальной громкости также невозможно из-за упомянутого выше падения напряжения на транзисторе (около 0,6 В). Поэтому лучше использовать схему, изображенную на рис.3в.
Источник питания (+5 В) должен быть стабилизированным — иначе громкость будет “плавать”. При настройке этой схемы, возможно, понадобится подобрать сопротивления R3 и R4 для получения максимальной громкости. Если же перегорел “верхний” вывод переменного резистора, схема для его “лечения” становится еще проще (рис.Зг). Источник питания тоже должен быть стабилизированным.
Но если переменный резистор “восстановлению не подлежит”, единственный выход — использование цифровых регуляторов. В принципе, такие регуляторы можно построить и на обычной цифровой логике, пропуская звуковой сигнал через микросхему цифро-аналогового преобразователя (ЦАП). Подобные схемы неоднократно публиковались в отечественной литературе начала 90-х годов, но дешевле и удобней воспользоваться специализированной микросхемой, например, КА2250 (Samsung) или ТС9153 (Toshiba).
Печатная плата.
Данная Печатная Плата (ПП) была сконструирована исходя из имеющихся в наличии потенциометров СП4-1 и выбранного корпуса. При этом ПП крепится не к корпусу УНЧ, а к токоведущим контактам потенциометров, что устраняет необходимость использования соединительного кабеля между регуляторами и ПП.
Отмеченные стрелками отверстия проходят через центры валов потенциометров и могут использоваться для разметки соответствующих отверстий в корпусе усилителя.
Площадь некоторых дорожек ПП была увеличена для повышения надёжности крепления ПП к ножкам потенциометров. Площадь сплошных заливок была видоизменена для получения приемлемого качества при использовании изношенного принтерного картриджа. Подробно об этот технологии можно почитать здесь.
А это уже готовая печатная плата, изготовленная по описанной здесь технологии. Для соединения ПП с другими блоками, в соответствующие отверстия ПП заклёпаны медные штырьки.
↑ Реанимация динамика ВЧ
Было открыто экстренное совещание в лице меня и жены (спасибо ей, что меня понимает), на котором было предложено перемотать катушки (опыт есть и немалый, но не такие динамики!). Прежде всего пришлось очищать каркас катушки от остатков родного провода. Провода такой толщины не было, и пришлось мотать более толстым (который был найден на одной из валявшихся плат от радиоприемника), для намотки был придуман механизм (спасибо трудовику все той же школы, по секрету — я там дважды в неделю информатику преподаю), на фото он виден, как и общий творческий процесс!!!
Насчет провода каким мотал — не знаю, микрометра тогда не было. Мотал виток к витку в два слоя. Всего получилось 70 витков. Был бы провод тоньше, думаю намотал бы в три слоя. Каждый слой был промазан «Моментом».
То, что получилось Вы видите. В результате сопротивление уменьшилось до 4.5 Ом.
Назначение
Металлоискатель Пират, представляет собой простой детектор металла, способный обнаруживать мелкие монеты на глубинах до 0.5 метра. Более крупные предметы фиксируются на глубинах до 1.5 метра. Такой прибор очень удобен для новичков и более опытных искателей кладов. Устройство относится к импульсным металлоискателям. Работает по принципу взаимодействия магнитного поля (МП) от катушки с магнитным полем металла. Способен обнаруживать драгоценные металлы на глубине до 1 метра. Подобное обнаружение осуществляется за счет реакции на вихревые потоки от поверхности ненамагничиваемых металлов. Металлы, которые имеют собственное магнитное поле, обнаруживаются за счет разницы потенциалов МП от генератора и предмета.
Многие радиолюбители выбирают металлоискатель Пират из-за простоты сборки, довольно неплохую проникающую способность и наличие возможности изменения параметров. По сравнению с более дорогими типами этих устройств, самодельный Пират можно собрать с использованием дешевых материалов и деталей, при этом получить устройство с большой чувствительностью. Далее будут даны схемы этого устройства на различных компонентах, с подробным описанием принципа работы.
Простой усилитель звука своими руками
Собрать своими руками аудио усилитель звука без микросхем можно собрать на любых транзисторах, включая как биполярные, так и полевые. Приминение полевых транзисторов в выходном каскаде предоставило создать устройство, приближающееся по характеристикам к ламповым конструкциям.
Схема владеет следующими характеристиками:
- АЧХ линейна в диапазоне 20 Гц-100 кГц
- Коэффициент искажений на 1 кГц не превышает 0,003%
- Выходная мощность 10 ватт на нагрузке 8 Ом
Для раскачки выходного каскада потребуется напряжение 0,7 вольт, которые должен обеспечить предварительный каскад. Операционный усилитель NE5534 можно заменить отечественным ОУ КР140УД608. Стабилитроны должны быть рассчитаны на напряжение стабилизации 18 вольт. 1N4705 можно заменить двумя последовательно включенными полупроводниками на 9 вольт каждый.
Современная симисторная схема регулятора
Ниже приведена современная принципиальная электрическая схема симисторного регулятора мощности. Для того, чтобы разобраться в принципе работы регулятора мощности на симисторе нужно представлять, как он работает.
Симисторы в отличии от тиристоров, могут работать не только в цепях постоянного тока, а и переменного. В этом их главное отличие. Симистор также работает в ключевом режиме – или открыт, или закрыт. Для открытия перехода А1-А2 нужно подать на управляющий электрод G напряжение величиной 2-5 В относительно вывода А1. Симистор откроется и не закроется до тех пор, пока напряжение между выводами А1-А2 не станет равным нулю.
Работает схема симисторного регулятора мощности следующим образом. Сетевое напряжение переменного тока подается через нагрузку (лампочку накаливания или обмотку паяльника) на вывод А1 симистора VS2 и один из выводов R2. При нахождении среднего вывода резистора R2 в крайнем левом положении, его сопротивление равно 0 и когда напряжение в сети начинает увеличиваться, конденсатор С1 быстро заряжаться. Когда С1 зарядится до напряжения 30 В произойдет пробой динистора VS1 и ток пойдет на управляющий электрод G VS2 и переход симистора А1-А2 откроется (график 1).
При повороте ручки переменного резистора R2, его сопротивление увеличится, ток заряда конденсатора С1 уменьшится и надо будет больше времени, чтобы напряжение на нем достигло 30 В. Поэтому симистор откроется через некоторое время. Чем больше будет величина R2, тем больше будет время заряда С1 и симистор будет открываться с большей задержкой. Таким образом на нагрузку будет поступать меньше энергии.
Приведенная классическая схема симисторного регулятора мощности может работать и при напряжении сети 127, 24 или 12 В. Достаточно только уменьшить номинал переменного резистора. В приведенной схеме мощность регулируется не от 0 вольт, а от 30, что более чем достаточно для практического применения. Это схема была успешно повторена при ремонте электронной схемы управления скоростью вращения электродвигателя блендера.





























