Лайфхаки для настройки звука
Усиливая или ослабляя те или иные частоты, можно создавать звуковые эффекты и получать разное звучание. Вот список некоторых частот и эффектов, за которые они отвечают.
Частоты от 1 до 50 Гц придают музыке мощность.
Частоты от 80 до 125 Гц придают звуку басовитость
С ними важно не переусердствовать, чтобы не получить глухой звук.
Частоты от 400 до 1000 Гц отвечают за естественность звучания.
Частоты от 800 до 4К Гц позволяют выделить в миксе отдельные инструменты.
Частоты в пределах 5К Гц дают чистый звук, прозрачный и менее плотный.. Если вы настраиваете голос, сделать его разборчивым и ясным можно, убрав уровень низких частот и добавив частоты в диапазоне от 1 до 4К Гц
Если вы настраиваете голос, сделать его разборчивым и ясным можно, убрав уровень низких частот и добавив частоты в диапазоне от 1 до 4К Гц.
Если голос стал пустым и потерял основу, добавьте частоту на уровне 150-500 Гц. Чтобы он не звучал жестко, прибавьте частоты в диапазоне 500-1000 Гц.
Эквалайзер – простой инструмент, хотя выглядит сложным. Правильно выбрав софт для работы, вы сможете с легкостью устранить неполадки и настроить звучание трека на свой вкус. Эквалайзер в составе АудиоМАСТЕРА – звукового редактора на русском языке – отлично подойдет для базовой обработки аудиозаписей. Установите программу и оцените сами!
Cохраните статью, чтобы не потерять:
Источник
Сборка и тестирование схемы активного звукового фильтра
Через несколько дней мы получили нашу печатную плату в аккуратной упаковке. Качество печатной платы и упаковка как всегда были на хорошем уровне. Вы можете сами увидеть упаковку.
Верхний и нижний слои платы показаны на изображении ниже. Мы выбрали красный в качестве паяльной маски просто потому, что он привлекателен, а PCBway предлагает все цвета масок по той же цене, так почему бы не повеселиться с цветом печатной платы.
Как вы можете заметить на изображении выше, качество печатной платы очень хорошее. Дорожки, контактные площадки, переходные отверстия и другие зазоры были идеально изготовлены. Я начал сборку своей платы, как только получил ее. Собранную плату вы можете увидеть ниже.
Однако для некоторых конденсаторов номинальное напряжение неточно, как требуется, но это не влияет на выходной сигнал схемы. Также операционный усилитель TL072 заменен на JRC4558 в связи с отсутствием ИС. Другая микросхема операционного усилителя также может работать, но отображение контактов должно соответствовать стандартному отображению контактов операционного усилителя.
Схема тестируется с использованием аудиовхода от ноутбука, источника питания 12 В и системы вывода на динамик 2.1 мощностью 15 Вт. Подробную информацию о работе и тестировании можно найти в видео ниже.
Надеюсь, вам понравился урок и вы узнали что-то полезное. Если у вас есть какие-либо вопросы или сомнения, оставьте их в разделе комментариев ниже. Вы также можете использовать наши форумы для других технических вопросов.
ЦВЕТОМУЗЫКА НА ARDUINO
22.05.2019 colorMusic_v2.10: • Исправлен глюк с большим количеством светодиодов на МЕГЕ
СТАРЫЕ ВЕРСИИ
- Добавлена плавность режиму цветомузыки по частотам! Настройка SMOOTH_STEP
- Добавлен режим стробоскопа с целой кучей настроек!
- Добавлено управление с ИК пульта! Купить пульт можно по этой ссылке , цена вопроса 50р
- 7 режим – Режим подсветки
- 8 режим – Режим бегущих частот
- 9 режим – Анализатор спектра (Версия 2.1)
- У некоторых режимов появились подрежимы
- Возможна работа БЕЗ потенциометра. Читайте ниже в инструкции по эксплуатации
Настройки сохраняются в память (энергонезависимую)
- Улучшена производительность, почищен мусор
- в 7 режиме радугу можно остановить и пустить вспять
Добавлена настройка RESET_SETTINGS для сброса настроек в случае некорректной работы. Читайте ниже в FAQ
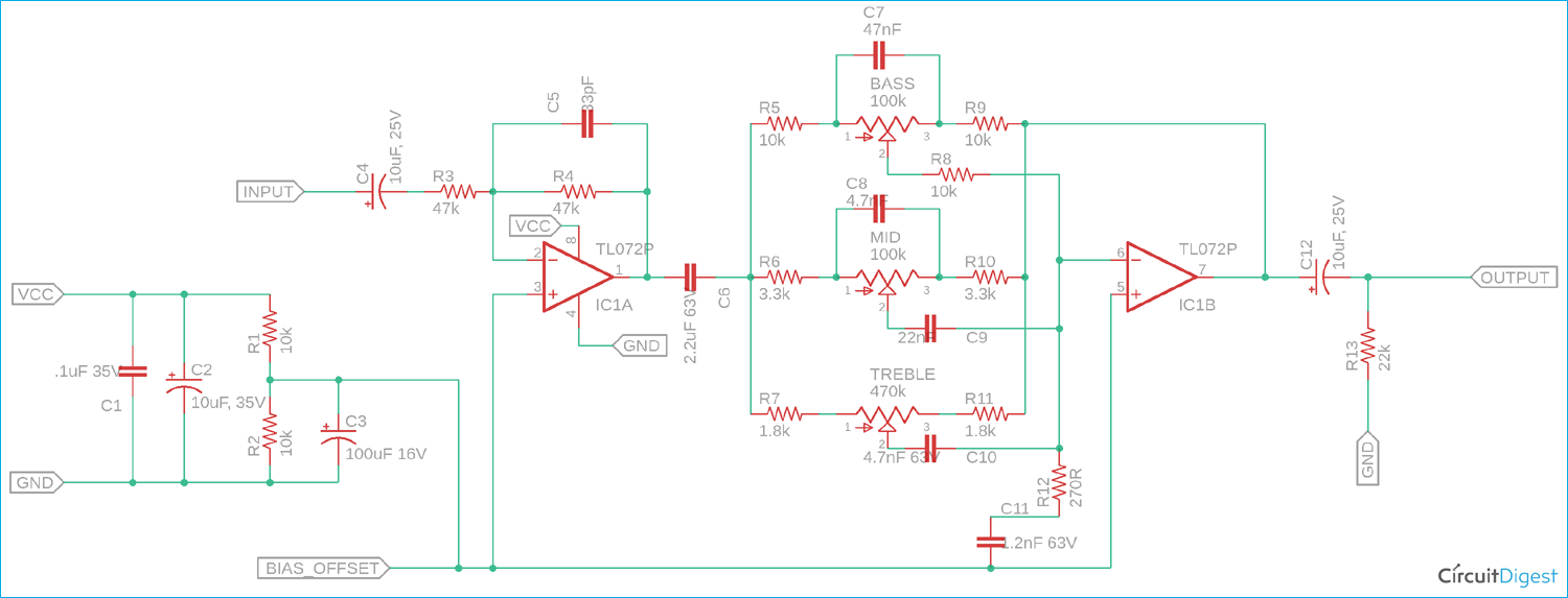
Принципиальная схема звукового эквалайзера
Полная принципиальная схема низких частот показана на изображении ниже. Основным компонентом этой схемы является операционный усилитель. Op-Amp TL072 — это популярный операционный усилитель, который состоит из двух отдельных операционных усилителей в одном монолитном корпусе.

Описание схемы приводится ниже, но вы также можете перейти к видео в конце этой страницы, в котором также объясняется, как работает схема. На изображении ниже показана распиновка операционного усилителя TL072P. Эти два операционных усилителя изображены на схеме как IC1A и IC1B.

Схема буфера операционного усилителя:
IC1A сконфигурирован как инвертирующий буферный усилитель. Этот буферный усилитель обеспечивает буферизованный выходной сигнал входного сигнала, который фильтруется или выравнивается трехполосными фильтрами. Конденсатор C4 — это блокирующий конденсатор, который блокирует сигнал постоянного тока и пропускает только сигнал переменного тока.

Резисторы R3 и R4 должны быть точными и согласованными. На данном этапе не рекомендуется изменять эти два значения. Выход 2.2uF, конденсатор C6 будет пропускать сигнал с буферизованного выхода.
Цепь управления средними, низкими и высокими частотами:
На следующем этапе IC1B является фактическим активным фильтром, который имеет три проходных фильтра, подключенных к контуру отрицательной обратной связи. Вот и происходит фактическая фильтрация тона —

Отрицательный вход поступает от конденсатора 2,2 мкФ. Операционный усилитель IC1B снова сконфигурирован как инвертирующий усилитель, и он принимает инвертирующий вход от IC1A, а на выходе он снова инвертируется.
Оба трехполосных фильтра являются RC-фильтрами. Поскольку номиналы конденсаторов не могут быть изменены, значение резистора изменяется здесь с помощью переменного потенциометра. Здесь резистор R12 и конденсатор C11 используются в качестве настройки усиления. Изменение значения R12 также изменит усиление.
В первом фильтре это фильтр низких частот (low pass). Первая сетевая цепь — это R8, потенциометр низких частот, а R9 — полное сопротивление фильтра, а конденсатор — C7. Чтобы определить частоту среза, можно использовать следующую формулу:
fc = 1 / 2piCR
Fc — частота среза, C — емкость конденсатора, R — полное сопротивление сети. Следовательно, изменение различных значений потенциометра или замена конденсатора C7 приведет к изменению частотной характеристики фильтра низких частот (фильтра низких частот).
Расчет частоты среза для цепи низких и высоких частот:
Например, в приведенной выше схеме значение потенциометра составляет 100 кОм. Следовательно, общее сопротивление, 100 кОм (Bass Pot) + 10 кОм (R8) + 10 кОм (R9) = 120 кОм. Таким образом, по формуле регулятор низких частот мог обрабатывать частоту до 28 Гц.
То же самое происходит и с фильтром MID. Но вместо фильтров нижних или верхних частот он использует конструкцию полосового фильтра.
Частоту среза можно получить по той же формуле fc = 1 / 2piCR. Самая высокая полоса может быть рассчитана с помощью резистора R6 и конденсатора C8 (согласно схематическому значению это 10,2 кГц), а самая низкая полоса может быть рассчитана с использованием значения потенциометра — MID + R10 в качестве общего сопротивления и конденсатора C9 (согласно схематическое значение, это 70 Гц).
В последней полосе фильтра это регулятор высоких частот с фильтром высоких частот. Формула не меняется, все та же fc = 1 / 2piCR. Общий резистор — это резистор Treble, а R11 и конденсатор — это C10. Когда высокие частоты полностью низкие, это означает, что потенциометр полностью 470 кОм, используя схематическое значение, частота среза фильтра составляет -71 Гц. Но во время полного режима высоких частот, когда потенциометр полностью включен, сопротивление потенциометра становится незначительным, и действует только резистор R11. В этой ситуации частота среза стала -18 кГц. Выходной сигнал получен от C12.
Цепь смещения / смещения:
Поскольку это напряжение питания одной шины, где отрицательная шина не используется, входной сигнал необходимо смещать. Это связано с неспособностью операционного усилителя усилить отрицательные пики входного сигнала в режиме питания с одной шиной.

Чтобы выполнить смещение, на положительную обратную связь операционного усилителя помещается делитель напряжения. Делитель напряжения смещает сигнал на половину напряжения питания. Поскольку он использует питание 12 В, входной сигнал смещается на 6 В постоянного тока. C1 и C2 — это конденсаторы фильтра, а R1 и R2 используются для создания делителя напряжения вместе с дополнительным конденсатором фильтра C3.
Как настроить эквалайзер: общие сведения
Самый качественный, самый приятный и чистый звук, конечно, обеспечивает ручная настройка эквалайзера. Поэтому начать нужно со следующего:
- Сделайте звучание линейным. Для этого все ползунки эквалайзера на вашем устройстве переведите на отметку «0» — установите посередине.
- Включите музыку, схожую с той, что вы собираетесь затем послушать при настроенном звучании. Прислушайтесь к каждому инструменту, к каждому из голосов исполнителей. Подумайте, какую частоту нужно усилить, а какую — ослабить.
- Поэкспериментируйте с полосами эквалайзера: с левой стороны (с 20К) будут низкие звуки (так называемые басы), а с правой (от 16К) — высокие частоты. Соответственно, между ними — средние частоты.
- Работать с эквалайзером просто: не выключая музыку, перемещайте каждый из ползунков вверх или вниз, добиваясь комфортного для вас звучания — настройки эквалайзера для идеального звука.

После того, как вы разобрались в работе эквалайзера, можно переходить к более точной и детальной настройке, используя эти сведения:
16-60 Гц — супер-низкие басы, саб-басы. Самый мощный звук, что может выдать ваше устройство — если аудиосистема качественная, вы сможете даже физически ощутить его. Ползунок с этими цифрами используют, чтобы добиться отличного звучания барабанных установок
Но важно не переборщить с саб-басами, чтобы не добиться «мутного» звука.
60-250 Гц — настройка эквалайзера для баса и барабанов. Эти звуки часто переходят друг в друга, что в общем счете усложняет настройку
Если сильно понизить значение, вы повредите звучанию вокала, синтезатора и гитары — оно будет выходить неразборчивым и гулким даже на фоне отличной работы ударных и басов.
200-400 Гц. Не выставляйте слишком большие значения, чтобы вокал не был мутным и нечетким. Также вы нанесете удар по барабанам, цимбалам и перкуссии — звучание будет не четким и жестким, а теплым.
250 Гц- 2 кГц — средний бас, настройка эквалайзера на магнитоле и других устройствах. Слишком большое значение делает звучание гитары, фортепиано неестественным и металлическим.
400-800 Гц. Как настроить эквалайзер на на магнитоле? Рекомендации: уменьшение этих частот «уплотняет» звучание басов.
800 Гц — 1 кГц. Область частот для регулировки звучания вокала — вы сможете сделать его более мягким и теплым.
1-3 кГц. Одна из самых важных настроек эквалайзера — здесь мы делаем басы яснее, определяем звучание вокала, фортепиано и гитары. Правильная настройка эквалайзера — не переусердствовать и не выставить слишком большое значение.
2-4 кГц. Зона частот для настройки звучания вокала.
3-6 кГц. Профессионалы стараются несколько сократить данный диапазон частот — это убирает слишком жесткое звучание вокала. Как настроить эквалайзер на чистый звук? Обрезки в верхней части диапазона делают голоса ясными, добавляют «эффект присутствия».
6-10 кГц — регулировка высоких частот. Нужна, чтобы звук стал прозрачным и воздушным. Здесь правильно настраивают звучание гитары, струнных и синтезаторов. Как лучше настроить эквалайзер? С вокалом будьте осторожны: звучание «ц» и «ш» между 6-8 кГц — то еще испытание для слуха.
10-16 кГц — ультравысокие для человеческого уха частоты. Увеличьте значение, чтобы тарелки звучали четче и ярче барабанов, чтобы сделать звучание прозрачным и легким. Это настройка эквалайзера на чистый звук. Если вы слышите шипение и фоновые шумы при проигрывании музыки, ситуацию исправит понижение значений. В случае настройки под спецэффекты не делайте значения слишком высокими, иначе музыка будет очень резкой и шумной.

Как настроить эквалайзер на телевизоре
Если вы выберете стандартные или пользовательские звуковые профили, большинство телевизоров также позволят вам настроить эквалайзер. Подобно элементам управления вашего Hi-Fi, настройки микшера позволяют настраивать определенные части звукового диапазона. Обычно там будет набор элементов управления, перечисленных по звуковой частоте, 100 Гц, 1 кГц и так далее. Меньшие числа (в Гц) регулируют низкие частоты, более высокие числа (в кГц) — высокие частоты.

Если вы обнаружите, что ваш телевизор звучит немного приглушенно, а речь плохо слышна, вы можете попробовать уменьшить настройки низких частот и повысить высокие. Вы можете настроить звук так, как хотите, используя эквалайзер, но вы по-прежнему ограничены общим качеством динамиков вашего телевизора.
Построение корпуса
Корпус можно склеить из обрезков оргстекла или прозрачного пластика. Мы бы рекомендовали именно стекло. Если вы решите использовать пластик, то стоит помнить, что данный материал очень подвержен появлению мелких царапин и пользоваться им придется максимально аккуратно.

На этом все. Приятного всем времяпрепровождения за прослушиванием любимой музыки и созерцанием необычного аудио визуализатора.
Данная статья является авторским переводом с сайта instructables.com.
Данная статья является собственностью Amperkot.ru. При перепечатке данного материала активная ссылка на первоисточник, не закрытая для индексации поисковыми системами, обязательна.
Настройка эквалайзера для игр
Найти лучшие настройки эквалайзера для игр — задача не из лёгких. Универсальных решений нет. Придётся поэкспериментировать. По факту настраивать микшер надо на устройстве, с которого воспроизводится звук. То есть, если играете на компьютере, следуйте алгоритму настройки звука в эквалайзере, который соответствует вашей ОС. Для Windows 10 или 7 все действия описаны выше.
Если рассматривать общие рекомендации, то для игр больше всего подходят следующие параметры:
- Для динамичной игры, такой как FPS, установите более высокое значение для высокочастотных звуков.
- Атмосферная игра — низкочастотные звуки на более высокое значение.
- Играете в FPS и хотите лучше слышать шаги, настройте частоту 2000 или 4000 Гц.
Это всего лишь общие рекомендации, совсем необязательно, что они подойдут конкретно вам. Пробуйте, экспериментируйте.
Настраивая эквалайзер, помните, расширение слишком большого количества частот может сделать звучание музыки запутанным. Поэтому всегда начинайте с уменьшения частоты. Любое изменение повлияет не только на выбранный вами частотный диапазон, но и на то, как остальные частоты взаимодействуют друг с другом.
Если наше руководство было полезно, делитесь им с друзьями.
Понравилась схема? Жми палец вверх!
Поэтому выравнивается АЧХ на краях полосы пропускания фильтров и получается нужный диапазон регулировки коэффициента передачи в каждой из полос.

При перемещении движка переменного резистора Rp1 в крайнее левое по схеме положение сигнал, прошедший частотную обработку, поступает на ОУ DA1, увеличивая глубину отрицательной обратной связи, в результате чего на выходе устройства происходит ослабление сигнала с частотой, близкой к резонансной частоте фильтра Z1. Принципиальная схема высококачественного пятиполосного эквалайзера на транзисторах.
![]()
Рабочая полоса частот — от 10 Гц до 25 кГц 5. Стремитесь по возможности избегать большого усиления, так как естественное звучание голоса может быть потеряно. Чтобы придать этим звукам мощь атаку , регулируйте частоту 80 Гц.

Если применить переключатель на три группы, то на третью можно прицепить светодиод, загорающийся при включении эквалайзера. При перемещении движка переменного резистора Rp1 в крайнее левое по схеме положение сигнал, прошедший частотную обработку, поступает на ОУ DA1, увеличивая глубину отрицательной обратной связи, в результате чего на выходе устройства происходит ослабление сигнала с частотой, близкой к резонансной частоте фильтра Z1.

Сигналы с выходов активных фильтров поступают на вход двухкаскадного усилителя через резисторы 1R9—5R9, сопротивления которых определяют и режим работы транзисторов V2, VЗ по постоянному току. Питание схемы двухполярное.
Принципиальная схема

Частоты, которые полезно помнить Сеть питание шумит на частоте 50 Гц и умножается. Если применить переключатель на три группы, то на третью можно прицепить светодиод, загорающийся при включении эквалайзера. Конструкция: Далее приведена односторонняя печатная плата рис. В качестве питания эквалайзера нужен двухполярный стабилизированный блок питания напряжением 12 — 15 Вольт и током до 50 мА.
Аналогично происходит регулировка коэффициента передачи эквалайзера на частотах настройки фильтров Z2 — ZN. Принципиальная схема этого эквалайзера приведена на рисунке
Переменные- резисторы 1R2 — 5R2 должны быть группы А. Еще один вариант восьмиполосного эквалайзера показан на рисунке Интервалы между частотами настройки активных фильтров выбраны равными двум октавам. Поэтому выравнивается АЧХ на краях полосы пропускания фильтров и получается нужный диапазон регулировки коэффициента передачи в каждой из полос. Пассивный регулятор тембра. Преимущества и …
Что делать?
Далее в статье указаны основные принципы управления частотами. Это начальная точка вашего путешествия по удивительному миру эквалайзеров, но, само собой, это не догмы. Эти рекомендации сэкономят ваше время в поисках нужных вам частот для подчеркивания положительных свойств различных музыкальных инструментов.
Алгоритм работы такой. Для начала включите режим «solo» на треке, с которым вы работаете. Большинство звукорежиссёров начинают строить свой микс на основе ударных и постепенно идут снизу вверх по частотному диапазону (бочка, малый, томы, хай-хэт, оверхэды). Каждый инструмент имеет какую-то характерную для него полосу частот, на которой он звучит и резонирует, так что если вы работаете с микрофоном бас-бочки, начните с самого низа.
Настройте оптимальный низ и переходите к атаке. Очень часто после настройки звучания бочки выползают какие-то паразитные призвуки типа звона или гула, даже несмотря на то что низ у вас отличный и атака — шикарная. Ваш следующий шаг — вырезать паразитов узкочастотным фильтром. Как только вы понимаете, что звук бас-бочки вас устраивает, глушите этот трек и переходите к следующему инструменту.
Не торопитесь с эквализацией. Кропотливая работа даст свои плоды, звучание станет более разборчивым и более ясным. Каждый инструмент займёт своё место и засияет в миксе. Вот еще несколько полезных советов:
- Помните, что общая картина важнее отдельных инструментов. Ваша цель — не заставить каждый трек звучать как можно лучше, а сделать общее звучание максимально убедительным. Не каждому инструменту нужна яркая атака и объёмный низ. Если вы будете бомбить все треки с одними и теми же настройками, инструменты только потеряют в звуке. Стремитесь к совершенству общего звучания
- Отдохните от сведения. Ваши уши устают точно так же как и все тело. Если вы долгое время работаете с одним и тем же инструментом, ваши уши постепенно становятся неразборчивыми и практически невосприимчивыми к конкретному диапазону частот. Отдыхайте!
- Всегда сравнивайте. Не надейтесь на вашу память. Часто бывает так, что вы потратили 15 минут на настройки эквалайзера а звук в итоге стал хуже чем до обработки. Будьте честны сами с собой, отказывайтесь от неверных решений быстро и без раздумий и начинайте снова.
- Не бойтесь рисковать. Самые лучшие трюки с эквалайзером придумали те, кто не боялся сумасшедших экспериментов. Поиграйте с частотами, ведь вы такой же музыкант как и те, с чьими партиями вы работаете на сведении.
Простой пятиполосный эквалайзер
Простой пятиполосный эквалайзер, осмелюсь предложить простой эквалайзер, как следует из его названия, используется для выравнивания частотной характеристики электроакустической системы. В основном речь идет об исправлении частотной характеристик комнаты для прослушивания.

Как вы знаете, в каждой комнате есть отражения и резонансы — в результате некоторые части акустического диапазона звучат громче, а другие тише, чем планировалось. Характеристики и даже расположение динамиков (громкоговорителей) также важны. Описанный пятиполосный простой эквалайзер позволяет исправить эти недостатки и получить приемлемые характеристики обработки звука во всем диапазоне. Он найдет ряд применений, как в оборудовании собственной разработки, так и в качестве дополнения к существующим простым усилителям. Принципиальная схема простой пятиполосный эквалайзер показана на рисунке.

Пять одинаковых активных фильтров, с эмиттерным повторителем, были использованы для построения корректора. Схема питается от одного напряжения, поэтому добавлена искусственная цепь заземления, реализованная с помощью элементов R19, R20, C12. Необходимо использовать относительно небольшие значения резисторов из-за токов транзисторных баз. Из-за свойств операционного усилителя резистор R18 играет только вспомогательную роль и поляризует входы операционного усилителя постоянным напряжением.
Конденсатор С13 уменьшает усиление частоты вне акустического диапазона. В свою очередь, элементы R1, C1 и C14, R22 отключают постоянную составляющую тока, так что вход и выход в состоянии покоя имеют потенциал отрицательного источника питания, то есть общего провода «заземления». Благодаря хорошей стабилизации (US2) проблемы с перекрестными помехами и шумом, проходящими через силовые цепи, эффективно устраняются. Из-за наличия цепей стабилизации постоянное напряжение питания, подаваемое на разъем POWER SUPPLY, должно быть не менее 12В. При более низких напряжениях стабилизатор US2 не будет выполнять свои функции, и «мусор» будет попадать в схему с шин питания.
Простой пятиполосный эквалайзер обеспечивает регулирование отдельных частотных полос в диапазоне около ± 12 дБ. Номинальные частоты отдельных диапазонов: 100 Гц, 330 Гц, 1 кГц, 3,3 кГц, 10 кГц. В схеме с приведенными номиналами, при использовании стандартных конденсаторов и резисторов, имеет центральные частоты 93 Гц, 308 Гц, 985 Гц, 3,4 кГц и 10,9 кГц. Общий диапазон регулировки в этих диапазонах составляет 25 дБ, 23 дБ, 22,9 дБ, 22,3 дБ, 22,7 дБ соответственно. Простой пятиполосный эквалайзер собрана на печатной плате, представленной на рисунке.

Схема, собранная без ошибок и на заведомо исправных компонентах, работает сразу и не требует настройке. Устройство может использоваться в конструкциях собственного производства. Два таких модуля необходимы для применения в стерео системах. Чтобы получить оптимальные параметры шума, сигналы, подаваемые на вход, должны иметь уровни 100 мВ … 1В. На таких уровнях вам не нужно беспокоиться о шуме вы можете смело предположить, что устройство не создает собственного шума. Разумеется, с помощью коротких проводов можно подключить другие потенциометры: поворотные или ползунковые.
Как настроить эквалайзер на наушниках?
На самих наушниках, конечно, ничего не выйдет — все делают на устройстве, к которому гарнитуру присоединяют. Как настроить наушники эквалайзером? Самый простой вариант — встроенный эквалайзер Windows. Гайд по настройке:
- Правой кнопкой мышки кликните по значку динамика в системном трее.
- Нажмите по «Устройствам воспроизведения».
- Выберите свои наушники кликните по кнопке «Свойства» в том же окошке.
- Вам нужна вкладка «Улучшения» —поставьте галки на «Эквалайзере» и «Неотложном режиме».
- Затем нажмите на троеточие (…). А далее — настройка эквалайзера для наушников.
- Перед вами будет окошко с режимом настройки эквалайзера: новички могут воспользоваться готовыми «пресетами» — джаз, классика, поп, рок и др.
- Если стандартные настройки не нравятся, создайте пользовательский пресет и не забудьте его сохранить.
↑ Схема лампового эквалайзера
Ниже привожу схему устройства. Исключён фрагмент. Полный вариант статьи доступен меценатам и полноправным членам сообщества. Читай условия доступа.
Входной коммутатор позволяет смешивать сигналы от трех источников. На каждом входе имеется плавный регулятор уровня сигнала. С помощью трехпозиционных тумблеров имеется возможность отключать каждый канал, либо включать полностью, либо с затуханием -6 Дб.
Подстроечный резистор R6 позволяет регулировать в некоторых пределах коэффициент усиления устройства (для получения идентичного усиления каналов).
Глубина максимального подъема и затухания устанавливается подбором резисторов Ro1, Ro2. В моем случае величина Ro1 колебалась в диапазоне от 300 Ом до 2 кОм. А для Ro2 — от нуля до 300 Ом. Данные потенциометров:
регуляторы громкости — 470кОм, можно и меньше, 100кОм, 220кОм. Регуляторы тембра Rt — от 10 кОм до 47 кОм. Может придется подобрать Ro1, Ro2. У меня стоят на 33кОма, что нашлось.
С помощью сопротивлений Rq подбирается добротность каждого контура. Значения этих сопротивлений лежат в диапазоне от 0 до 1 кОм. Дроссели фильтров намотаны на кольцах размером 16×10*5 мм из феррита марки 2000НМ.
В таблице приведены номиналы конденсаторов и индуктивностей полосных фильтров.
Настройка АЧХ производилась с помощью программы «AudioTester». Уровень шума и фона, при средних положениях регуляторов тембра, составляет менее -60 дБ.




























