Садовый измельчитель своими руками: выбор конструкции
Самодельный измельчитель веток состоит из следующих основных элементов:
- мотор (электрический, бензиновый);
- рабочий вал с режущим элементом;
- опорная рама;
- защитный кожух;
- приемный короб;
- бункер для измельченных растительных отходов.
Веткоизмельчитель работает по следующему принципу: в приемный вал подаются растительные отходы в виде травы и веток, их перемалывают ножи, закрепленные на рабочем валу. Двигатель может располагаться непосредственно на валу либо подсоединяться к нему ременной передачей.
Планируя изготовить веткоруб, важно правильно подобрать мотор. Самодельная дробилка, оснащенная бензиновым двигателем мощностью 5-6 л
с., справится с ветками любой толщины.
Электрический мотор подбирается по мощности в зависимости от задач:
- мотором до 1,5 кВт можно оснастить измельчитель для травы и тоненьких веток;
- двигатель 3-4 кВт подходит для оснащения щеподробилки, веткоруб, оборудованный таким мотором, сможет перемалывать ветки диаметром до 4 см;
- электромотор мощностью свыше 6 кВт даст возможность изготовить производительный щепорез своими руками, использовать веткоруб для переработки веток диаметром до 15 см.
Предназначение установки влияет и на выбор режущей части конструкции:
- Измельчитель тонких веток и травы оснащается ножами, надетыми на вал крест-накрест, выполненными из заточенных пластин из твердосплавного материала;
- Веткодробилка фрезерного типа оснащается фрезой с крупными зубцами, она справится с ветками толщиной до 3 см, но древесина должна быть сухой. Такой веткоруб требует небольшой мощности мотора и высокого крутящего момента, поэтому в конструкции необходимо предусмотреть понижающий редуктор.
- Веткоруб для веток различной толщины и тонких стволов комплектуется дисковым ножом – в диске из стали толщиной от 6 мм делаются прорези, и на одном краю каждого выреза крепится прочное заточенное лезвие.
- Измельчитель древесины, позволяющий дробить ветки и отходы деревообработки в мелкую труху, изготавливается на основе пакета дисковых пил по дереву к с крупными зубцами из твердосплавного материала.
Как сделать дробилку самому? Прежде всего, следует определиться, какая дробилка вам требуется: для веток или для щепы. Исходя из этого, выбирается конструкция и мощность мотора.
Подробные чертежи можно найти на специализированных интернет-ресурсах – садовый измельчитель своими руками изготавливают многие, желающие сэкономить на покупке полезного, но дорогостоящего оборудования. Ниже предлагаем один из наиболее популярных вариантов чертежей.
Дробилка для щепы из дисковых пил: принцип изготовления
Этот станок отличается простой конструкцией, такая дробилка своими руками монтируется быстро и не требует больших финансовых вложений. Работа по сборке выполняется с использованием болгарки, гаечных ключей, сварочного аппарата.
Материалы:
- электрический (от 4 кВт) или бензиновый (5-6 л.с.) двигатель;
- не менее 15 дисковых пил диаметром от 18 см (от количества пил зависит ширина рабочей части);
- шпилька М20 либо аналогичная;
- подшипники (2 шт) и крепления к ним;
- шкивы (2 шт);
- шайбы (на 2 больше, чем количество пил) из металла толщиной 5 мм;
- металлопрофиль для монтажа опорной рамы;
- листовой металл (2 мм толщиной) чтобы изготовить защитный кожух и приемный бункер.
Дробилка для веток монтируется следующим образом:
- Из прямоугольных профильных труб сваривается рама;
- На резьбовую шпильку надеваются пилы попеременно с шайбами, чтобы зубчики во время работы не сцеплялись друг с другом.
- С обеих сторон пакета пил вплотную к крайним шайбам навинчивается по гайке;
- К внутренним поперечинам рамы требуется приварить крепления для установки подшипников;
- Подшипники закрепляют на шпильке по разным сторонам от пакета пил, затем вся конструкция монтируется на раму;
- На длинный конец вала устанавливается шестеренка или шкив, для фиксации используется стопорное кольцо;
- На раму крепится двигатель, соединяется со шкивом на шпильке ремнем или приводной цепью:
- Монтируется защитный кожух, крепится приемный бункер в виде раструба. Длина бункера должна обеспечивать защиту от случайного контакта рук с рабочей частью установки.
Сделанный собственными силами измельчитель для веток садовый позволит оперативно избавляться от древесного мусора, превращая его в сырье для компоста или топливо. Такое устройство для дробления древесины своими руками необходимо чистить после использования, убирая щепки, застрявшие между пилами.
Самодельные измельчители – экономически эффективное решение проблемы утилизации растительного мусора на садовом участке.
Видео-инструкция поможет подробно ознакомиться, как сделать измельчитель веток.
Как самостоятельно собрать режущий элемент
Для изготовления фрезерного ножа вам понадобятся:
- дисковые пилы (10-12 шт.). Их количество может отличаться от указанного, как в меньшую, так и в большую сторону. Чем больше установлено дисков, тем более мелкая щепа получится на выходе;
- штанга резьбовая М20;
- подшипники (внутренний Ø 20 мм);
- плотный мягкий пластик для изготовления шайб-прокладок;
- шайбы и гайки для крепежа.
Собирают нож следующим образом:
- На шпильку (её диаметр 20 мм совпадает с отверстием пил) надеть диск.
- Между соседними дисками следует установить вырезанную из пластика шайбу. Она необходима, чтобы режущие кромки соседних пил (они шире, чем полотно диска) не цеплялись одна о другую.
- Крайние диски фиксируют шайбами и гайками. В результате у вас получится вал, с расположенными на нём дисковыми пилами. Осталось установить штангу с пилами на раму, при помощи подшипников, втулок и хомутов.
Технические характеристики механизма
Особенностью рыночной экономики является широкий ассортимент предложений такого оборудования зарубежными и отечественными производителями, поэтому покупатель должен знать основные технические характеристики механизма, на которые он должен обратить внимание при покупке:
-
Мощность установки. Именно она основа производительности.
- Назначение агрегата. Одни необходимы для измельчения веток, травы, другие для дробления бревен, деревьев.
- Вид топлива. Одни работают только на электричестве, другие как на электричестве, так и на бензине или дизельном топливе.
- Мобильность установки. От этого зависят габариты дробилки, вес, быстрота работы.
- Функциональные возможности. Универсальные приспособления используются, как правило, в быту и имеют несложную конструкцию, в таких механизмах, как правило, один режим измельчения, в профессиональных уровень дробления можно регулировать.
Если останавливаться на производителях такого промышленного оборудования, как дробилки одно из лидирующих мест занимают:
- немецкие фирмы «Pallman», «Hombak», «Maier»;
- китайская «Kefid»;
- российские фирмы «РубМастер» и «БиоСфера».
Нюансы эксплуатации самодельной техники
Сделанный самостоятельно шредер — это по сути три в одном: измельчитель для веток, соломорезка, механизм для резки травы. Он помогает существенно облегчить домашний труд, связанный с утилизацией растительных отходов, а также прокормом птицы и скота.
Для самодельной электротехники рекомендуется устанавливать отдельный дифференциальный автомат, чтобы обеспечить надежную защиту от поражения электрическим током в случае непредвиденных обстоятельств. В любом случае, изготавливая садовый измельчитель самостоятельно, требуется соблюдать правила техники безопасности. Также придерживаться их стоит и во время эксплуатации механизма. Рекомендуется перед работой с техникой надевать очки, подходящую защитную одежду и проверять надежность закрепления элементов конструкции. Следует учитывать при создании самодельного агрегата предстоящий объем работ, а также характер перерабатываемой растительности, чтобы подобрать двигатель нужной мощности и нужную конструкцию ножей. Это позволит сделанному устройству без особых проблем справляться с поставленными задачами. опубликовано econet.ru
Если у вас возникли вопросы по этой теме, задайте их специалистам и читателям нашего проекта здесь.
Выбор двигателя и определение ременной передачи
Такой показатель, как мощность привода, указывает на толщину веток, которую может переработать самодельный аппарат:
- Для большинства целей вполне хватает электрических двигателей с показателями мощности 2,5−3,5 кВт, но не меньше 2 кВт. Силовые установки мощностью 1,5 кВт подойдут для обустройства измельчителей для травы и мелких веток. С более крупным мусором они не справятся.
- Бензиновые или дизельные моторы должны обладать мощностью 5−6 лошадиных сил. Кстати, подобные агрегаты установлены на бытовых мотоблоках и компактных мини-тракторах.
- Если вы собираетесь приобрести более мощный электромотор, то это может оказаться бессмысленной покупкой. Дело в том, что подобный агрегат употребляет слишком много электрической энергии, но не проявляет высокой продуктивности работы.
Однако количество оборотов электродвигателя практически не играет роли, т. к. необходимая скорость вращения режущих элементов обеспечивается клиноременной передачей.
Чтобы шредер для древесины справлялся со своими обязанностями на ура, ножевой вал должен работать на скорости не больше 1500 оборотов в минуту. Достичь таких показателей можно с помощью выбора подходящего диаметра ведущего и ведомого шкива. Решающее значение отыгрывает не скорость оборота ножей, а получаемый крутящий момент или усилие
Также нет смысла уделять особое внимание расстоянию между шкивами и длине ремня, за исключением слишком длинных ремней, которые существенно снижают показатели КПД передачи
В качестве примера можно выбрать следующий расчет: берём электрический двигатель на 2800 оборотов в минуту, который будет установлен на дробилку. Идеальным решением станет снижение оборотов на валу вдвое, до 1400 об/минуту. В таком случае диаметры шкивов будут отличаться в два раза. Например, размер ведущего шкива составляет 100 миллиметров, а диаметр ведомого достигает 200 мм.
Заказывая шкивы для клиноременной передачи в токарной мастерской, учтите: лучше отдавать предпочтение шкивам на 3 или 4 ручья, чтобы после можно было менять обороты на рабочем валу с помощью перестановки ремня. В таком случае удастся подстраивать измельчитель под разные условия работы, например, для обработки стеблей кукурузы, подсолнечника или травы.
Почему лучше сделать измельчитель своими руками
Рациональным решением для утилизации веток является использование садового измельчителя. Это специальный инструмент, который выпускается современными производителями. Оборудование функционирует от различных типов приводных устройств, в качестве которых могут использоваться:
- электромоторы;
- двигатели внутреннего сгорания;
- валы отбора мощности тракторной техники.
Существенным недостатком заводского оборудования является высокая его стоимость, что связано с использованием высококачественных материалов для производства. Далеко не каждый дачник может позволить себе приобретение подобного рода, тем более что его окупаемость займет не менее 5 лет. Все более актуальным становится вопрос о том, как самому сделать простой измельчитель веток.
Способ самостоятельного изготовления садового инструмента пользуется спросом по ряду следующих причин:
- Процедура изготовления не трудная, если есть опыт работы с такими инструментами, как болгарка, дрель и сварочный аппарат.
- Создается оборудование из подручных средств. Для этого понадобятся старые электродвигатели, фрезы, дробилки, фуганки и т.п.
- Изготовление инструмента с необходимыми техническими параметрами и производительностью. Его можно использовать для измельчения веток, травы, листьев и прочего садового мусора.
- Цена — это основная причина, почему дачники предпочитают изготовить измельчитель веток самостоятельно, чем покупать заводское оборудование, стоимость которого достаточно высокое (если говорить о качественных установках).
Преимущества самодельного измельчителя веток
Естественно нельзя не упомянуть о недостатках самостоятельного изготовления измельчителя. Основным минусом является безопасность, так как малейший просчет может превратиться серьезную травму или даже стоить жизни человеку. Именно поэтому браться за дело следует только при полной уверенности в том, что сможете сделать надежный измельчитель веток. Поможет в этом описание разных вариантов оборудования, представленное в материале, которое функционирует не хуже, чем заводские изделия.
Садовый измельчитель с системой из дисковых полотен.
Это измельчительный аппарат, где основным режущим элементом являются дисковые пилы. Достаточно прост в изготовке, если имеются навыки сварщика.
Рама для агрегата строится по общему принципу для любого типа. Материалы должны быть качественными, способными выдерживать вибрацию от мотора. Для работы потребуется:
- металлический профиль;
- болгарка;
- сварочный аппарат.
Металлический профиль нарезается болгаркой на четыре отрезка длинной до 40 см и два по 80 см. При помощи сварки соединяются длинные и короткие заготовки так, чтобы получился прямоугольник. Оставшиеся две заготовки, помещают и сваривают внутри получившейся фигуры, с учётом размеров и месторасположения системы пил и двигателя.
Режущие пилы можно приобрести в магазине, желательное количество – до 20 штук толщиной от 6 до 10 мм.
- Режущие пилы набирают на ось того же диаметра, что и посадочные диски, чередуя с тонкими шайбами. Необходимость разделения вызвана тем, что зубцы дисковых полотен слегка изогнуты в стороны и при работе будут сцепляться друг с другом. С двух сторон система закрепляется гайками.
- На раму приваривается крепёж для подшипников. Подшипники одеваются на шпильку и закрепляются, после этого – система крепится на каркас.
- На один конец шпильки прикрепляется шкив и фиксируется с помощью стопорного кольца.
- Систему с боков следует защитить кожухом, сваренным из металлического листа.
- Раструб для приёма веток устанавливают на защитный кожух, его можно изготовить из оцинкованной стали, но сделать его более крепким и долговечным позволит листовой металл.
- Для двигателя на другой конец рамы приваривается лист металла размерами, соответствующий конструкции. В листе прорезают удлинённые отверстия. Их размеры определяют исходя из креплений двигателя.
- Мотор крепится к листу и натягивается приводящий ремень.
Для удобства использования аппарата, его можно оснастить колёсной базой или приварить ножки, отрегулировав высоту под свой рост.
Дисковый измельчитель прекрасно справляется как с толстыми, так и тонкими ветками, но он создаёт много пыли, и щепки могут застревать между зубчиками. Поэтому после каждого использования его необходимо тщательно чистить.
Как сделать измельчитель веток своими руками: поэтапная инструкция
Порядок действия простой, сделать необходимо следующее:
- подобрать чертеж;
- приобрести или найти в саду, гараже, доме необходимые инструменты и материалы;
- изготовить ножи;
- соорудить кожух и куб для подачи веток или травы;
- установить все устройства на станину.
Ищем чертеж или составляем его самостоятельно
Рекомендуется использовать готовые чертежи, но, при этом, корректировать их с учетом размеров имеющихся деталей. В первую очередь это касается двигателя, поскольку от его габаритов будут зависеть размеры станины и схема размещения всех агрегатов.
Простейшая схема веткодробилки
Примером чертежа того, как сделать садовый измельчитель своими руками на базе электродвигателя может быть несколько вариантов схем:
- В интернете полно чертежей роторного устройства для утилизации веток. В качестве режущего механизма при этом, как правило, используются фрезы. Следует иметь в виду, что такой агрегат потребует достаточно мощного мотора, а фрезы будут расходным материалом, что удорожает его эксплуатацию. С другой стороны, такой измельчитель позволит утилизировать крупные ветки.
- Самым технически сложным с точки зрения изготовления является двухвалковый шредер. Однако он будет и самым мощным. С его помощью можно утилизировать ветки до 8 см. толщиной. Изготовить такое устройство самостоятельно сложно, поэтому рекомендуется привлекать специалистов.
Подробный чертеж для сооружения устройства
Готовим инструменты и материалы
Изготовление самодельного измельчителя требует времени, материалов и инструментов. Некоторые комплектующие могут “ударить по карману” в случае, если их нет в наличии, и они будут покупными. Экономический смысл в самостоятельной сборке устройства будет при условии, если оно будет дешевле в несколько раз по сравнению с ценой в магазине.
Некоторые комплектующие для измельчителя
В первую очередь необходимо озаботиться двигателем. В зависимости от толщины перерабатываемых веток подбирается мощность мотора. Двигатель мощностью до 1,5 кВт позволяют утилизировать траву и ветки толщиной до 2 см. Но самые популярные устройства комплектуются мотором мощность в 3-4 кВт. Они перерабатывают ветки диаметром до 5 см.
Для передачи усилия с двигателя на вал с режущим механизмом потребуются, как минимум, 2 шкива и подшипника. Также может возникнуть потребность и в шестеренках. Оптимальная скорость вращения режущего механизма – 1500 оборотов в минуту. Она обеспечит необходимую производительность и длительный период эксплуатации двигателя.
Также потребуются ножи, о чем уже говорилось выше ножи. Можно использовать дисковые пилы или фрезы. А еще допустимо изготовить режущие элементы самостоятельно, например, из фуганка. Во втором случае производительность и качество работы агрегата оставит желать лучшего.
Для станины необходимы трубы, а для сварки кожуха и бункера для подачи веток — листы металла.
Изготовление станины
Двигатель, бункер и режущий механизм крепятся на станину. Это — сварная конструкция из труб или металлических уголков. Ее размеры определяются на основании чертежа. Для изготовления потребуется болгарка и сварочный аппарат. При работе со сваркой необходимо соблюдать правила техники безопасности и надевать защитные очки.
Станина — основа будущего агрегата
Изготовление режущего механизма
Режущий механизм представляет собой вал, на который монтируются ножи. В их качестве можно использовать диск от болгарки, фрезы, дисковые пилы. Можно изготовить ножи из автомобильной рессоры. Для этого придется их заточить.
Несколько вариантов режущих элементов
Сборка агрегата
Порядок действий:
- Сбор режущего механизма. Ножи помещаются на вал, между ними прокладываются шайбы для того, чтобы исключить трение режущих элементов друг о друга. С обоих сторон вала ножи закрепляются гайками.
- Монтаж режущего механизма на станину. Для этого в станине проделываются отверстия, а сам механизм крепится на нее с помощью гаек и болтов. Предварительно следует напрессовать подшипники на вал.
- Установка электродвигателя и ременной или цепной передачи.
- Монтаж защитного кожуха, бункера и рукава для выброса щепы.
- Установка кнопки пуск/стоп.
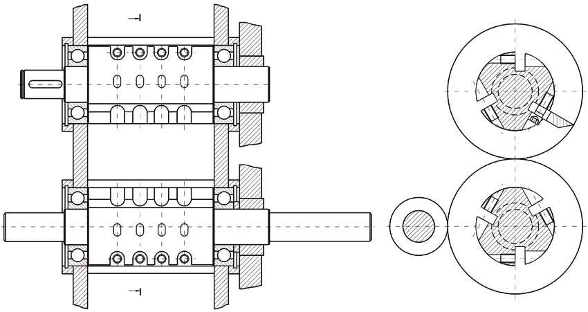
Инструкция по сборке двухвалкового шредера
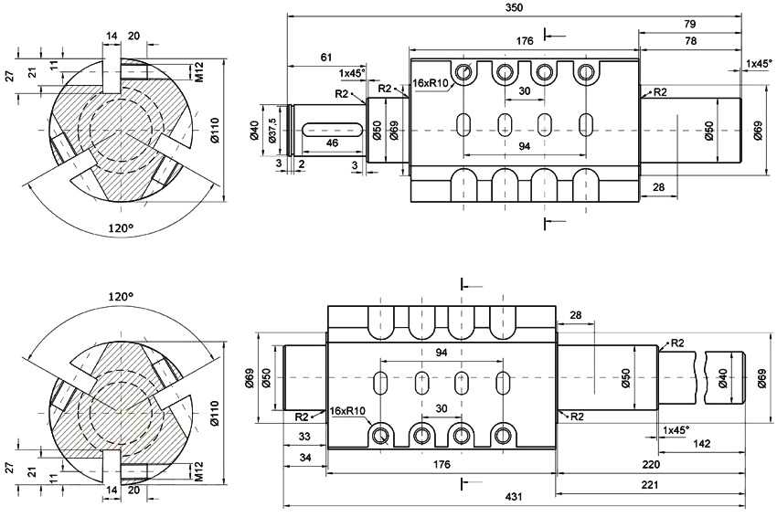
Работы начинаются с создания рамы. Для этого с помощью угловой шлифмашинки из профильной трубы нарезаются две заготовки длиной 80 см и четыре детали длиной 40 см. Далее между двумя длинными заготовками под прямым углом сваривают короткие отрезки. Две внутренние детали должны размещаться на таком расстоянии относительно друг от друга, чтобы обеспечить надежную установку измельчительного барабана.

Чертеж для сборки валов двухвалкового измельчителя
Следующим этапом является создание валов для измельчительного барабана. Если планируется установить на один вал четыре ножа, то тогда используем квадратную металлическую заготовку. Делаем оба ее конца круглой формы, чтобы они смогли войти в подшипники. Для трех ножей понадобится круглая заготовка, в которой оттачивается центральная часть. В ней делается три плоских среза для последующей установки ножей.
Для создания ножей можно взять небольшой отрезок листа рессоры Камаза. В ножах делаются отверстия для болтов. Затем следует выполнить заточку ножей на точильном станке, где выбирается угол режущей кромки со значением 35-45 градусов. Далее заточенные ножи прикладываются к валу и помечаются места их крепления, в которых создаются отверстия, и нарезается резьба.
Далее приступаем к созданию измельчительного механизма. В двух металлических стенках с помощью сварочного аппарата делаются круглые отверстия для установки подшипников. С помощью специальных накладок и болтов устанавливаем подшипники внутрь металлических стенок. В подшипники вставляем валы, надежно закрепляя их. Они должны располагаться на достаточном расстоянии, чтобы исключить возможность их соприкосновения. Далее соединяются стенки барабана с помощью металлических шпилек с резьбой и гаек.

Чертеж расположения валов на раме двухвалкового шредера
Теперь приступаем к созданию приемного бункера. Для этого из тонкого листового металла вырезается четыре параллелепипеда. Далее каждый край загибается на 4 см. Короткий участок в одну сторону, длинный – в противоположную. С помощью самозатягивающихся заклепок или сварки соединяем все детали. На отогнутых краях у основания короба делаются отверстия для крепежа.
Теперь на валы надеваются шестеренки, для синхронизации движения, и вся конструкция устанавливается на раму и закрепляется при помощи болтов. Затем устанавливается двигатель, который соединяется с валом ременной передачей или цепью. Двигатель лучше брать большой мощности, но с малым числом оборотов. В конце устанавливается и закрепляется приемный бункер. Затем на все вращающиеся части шредера надевается защитный кожух во избежание попадания в измельчитель посторонних предметов.
Главными преимуществами такого агрегата является высокая мощность и техническая способность измельчить толстые ветки в диаметре от 20 до 80 мм. Это будет зависеть от количества ножей и числа оборотов. На многочисленных сайтах в сети интернет представлены подробные рекомендации, как сделать измельчитель веток своими руками. Видео примеры более наглядно отображают весь процесс сборки и монтажа самодельного устройства.

Двухвалковый измельчитель, сделанный своими руками
Садовый измельчитель своими руками: основные элементы конструкции
Садовый измельчитель, он же шредер или чиппер, существенно облегчает процесс ухода за дачным участком. С его помощью можно легко очистить территорию от веток и травы. Переработанное сырье можно заложить в компостную яму для получения натурального удобрения. Полученную мелкую древесину целесообразно использовать в качестве дров для отопления домика. Измельченная щепа от фруктовых деревьев идеально подходит для копчения мяса.
Шредер для травы и веток поможет справиться с растительным мусором на участке
Конструкция садового шредера достаточно проста. Она состоит из таких основных деталей:
- бункера;
- привода;
- измельчительного механизма;
- металлической рамы с защитным кожухом.
Некоторые модели могут быть оборудованы дополнительными элементами:
- бункером для измельченного органического мусора;
- проталкивателем;
- ситом для регулирования фракции щепы.
Принцип работы любого измельчителя такой же, как у мясорубки и заключается в следующем. При включении шредера в работу начинает запускаться двигатель, который приводит в действие рабочий вал, оснащенный режущим механизмом. В это время садовый мусор попадает в приемную воронку и с помощью режущего устройства измельчается до состояния мелкой щепы.
Щепа из измельченных веток может использоваться в качестве компоста для растений
Измельчительный механизм
Перед тем как приступить к созданию самодельного шредера, необходимо четко определиться с видом отходов, которые он будет перерабатывать. Это напрямую зависит от его конструктивных особенностей и рабочих характеристик. Садовые измельчители классифицируются по трем основным параметрам: типу и мощности двигателя и виду измельчительного механизма.
Существуют следующие варианты измельчительного механизма:
- фрезерный, для переработки твердой древесины;
- ножевой универсальный;
- валковый, для перемалывания тонких веток деревьев и кустарников;
- с вращающимися турбинами для измельчения толстых веток;
- молотковый, для утилизации тонких веток;
- триммерный, основанный на использовании лески, для мягкого мусора.
При самостоятельной сборке измельчителя отдается предпочтение ножевой системе или наборной из дисковых пил. Можно выполнить двухвалковую конструкцию, при которой два-три ножа устанавливаются на массивном диске и вращаются друг другу навстречу.
Различные типы измельчительного механизма: 1 — молотковый, 2 — фрезерный, 3 — ножевой фрезерно-турбинный, 4 — ножевой дисковый
Тип и мощность двигателя
Шредер может быть оснащен электрическим или бензиновым двигателем. У каждого из них есть свои важные достоинства и некоторые недостатки. Измельчитель садовый, работающий на бензине, более мобильный. Его работа не зависит от источника электропитания. Он способен перерабатывать более толстые крупные ветки. Однако такие чипперы более громоздкие и тяжелые. К тому же они выделяют в атмосферу вредные вещества в процессе своей деятельности.
Измельчители с электродвигателем более легкие и удобные в эксплуатации. Однако они уступают по показателю мощности и зависят от энергоресурса.
Возможность перерабатывать определенный вид садового мусора зависит от мощности двигателя. Для маленьких объемов отходов, где диаметр веток не превышает 20 мм, достаточно двигателя мощностью 1,5 кВт. Если необходимо перемалывать ветки толщиной 20-40 мм, то тогда целесообразно использовать двигатель мощностью не менее 3,5-4 кВт. Справиться с крупной древесиной 100-150 мм в диаметре смогут измельчители, оснащенные двигателем мощностью 6 кВт.
Шредер с высокой производительностью способен перемалывать ветки диаметром до 100 мм
Следующей особенностью конструкции шредеров является тип привода. Эту функцию может выполнять цепь, ремень или сам вал двигателя, на котором осуществляется фиксация ножевого механизма.
Дробилка для веток из подручных средств
Некоторые мастера используют в качестве основы готовые устройства, для которых необходимо лишь изготовить дополнительные элементы или детали. Вместо мощных стационарных двигателей можно применить электродрель или болгарку. Рассмотрим наиболее распространённые варианты изготовления дробилки:
Из стиральной машины
«Стиралка» активаторного типа — отличный «полуфабрикат» для изготовления самодельного шредера. Понадобится демонтировать активатор, установить на вал двигателя нож, имеющий размер немногим меньше, чем диаметр внутренней части бака. Принцип действия ножа аналогичен тому, что используется в кофемолке — горизонтально установленная пластина с заточенными краями. В нижней боковой части бака делается отверстие, к которому присоединяется выпускной кожух. Во время работы измельчителя в него будет входить щепа. Конструкция достаточно простая и надёжная, испытана много раз на практике.
Двигатель стиральной машины имеет маленькую мощность, редко превышающую 500 ватт, потому при помощи подобного оборудования возможно измельчать только солому или траву
Из болгарки
Для изготовления шредера из болгарки понадобится металлическая ёмкость, в центральной части днища которой делается отверстие для установки ножа. Ось болгарки пропускается сквозь это отверстие, на неё устанавливается нож. Сам инструмент фиксируется в неподвижном состоянии таким образом, чтобы нож свободно вращался, не задевая стенки ёмкости. Скорость вращения инструмента довольно высока, поэтому рекомендуется установить её на минимум, чтобы не получить на выходе «пюре» из зелёной массы.
Для изготовления шредера рекомендуется использовать болгарку мощностью 3 кВт и более
Из дрели
Для того, чтобы использовать дрель в качестве измельчителя, понадобится подставка (обычно рекомендуют использовать обычную табуретку с отверстием 12 мм в центральной части сиденья). Сверху устанавливается ведро с аналогичным отверстием в днище, для неподвижности оно крепится к табуретке саморезами. Нож, размер которого немногим меньше диаметра днища ведра, устанавливается на ось, вставленную во втулку с подшипником. Втулка крепится снизу к табуретке. Дрель с самофиксирующимся патроном присоединяется к оси и запускается. Устройство годится для переработки зелёной массы в небольших объёмах.
Самодельный измельчитель для веток или стеблей травы позволяет ускорить процесс рубки материала перед закладкой в компостную яму или печь, мульчированием почвы и при проведении прочих работ. Расходы на создание шредера намного ниже, чем затраты на приобретение готового изделия, а множество вариантов конструкции из подручных материалов и элементов позволяет выбрать оптимальный вариант для данной усадьбы. Учитывая эпизодический характер использования такой дробилки, изготовление установки своими руками является выгодным и несложным мероприятием, а эффективность работы шредера зависит только от тщательности выполнения работ.
Особенности правильной эксплуатации самодельных агрегатов
Оборудование не заводское, а значит на безопасность проверку оно не проходило. Поэтому при работе обязательно соблюдайте эти правила:
- Работать в полном обмундировании. Устройство измельчителя веток таково, что часть поступающих веток будет «выплевываться» обратно. Щепа летит хаотично, поэтому может попасть в глаз или тело на высокой скорости. То есть обязательны к использованию очки для защиты глаз и плотный фартук для закрытия туловища.
- Нельзя лезть в веткоизмельчитель руками. Такие ситуации будут обязательно случаться и ветки нельзя подталкивать или вытаскивать руками. Лучше подготовить толстую палку.
- Запрещается бросать в шредер стекло, керамику или металл. Они могут навредить машине, заклинив вал. Если нет аварийного выключения, двигатель быстро перегреется. К тому же они могут вылететь в лицо, нанеся увечья.
- Не стоит нагружать двигатель большими ветками. Их нужно располовинить, иначе двигатель перегреется и выйдет из строя.
- Если замечен засор – отключите двигатель. Не стоит ждать, когда дробилка сломает палку, так как мотор входит в аварийный режим.
Генератор для дачи: какой выбрать?
Металлосайдинг: преимущества и сфера использования
Руководство по изготовлению
Сразу следует оговориться, что даже самая простая конструкция не получится, если дачник не владеет слесарными навыками. Придется работать не только руками, но и головой – за основу берется чертёж, его нужно уметь читать.
Когда схема будет подобрана, занимаются заготовкой необходимых материалов и деталей. Прежде, чем собрать дачный измельчитель, все работы разделяют на этапы.
Подбор двигателя и расчет ременной передачи
Для выбранного типа шредера не имеет значения количество оборотов мотора – нужную скорость вращения даст сам привод. Поэтому слишком мощный двигатель брать не стоит.
Дробилка для веток будет нормально работать и при 1500 об./мин. Оптимальный вариант для дачника – 2,5-3,5 кВт. Для мини-тракторов и мото-блоков следует выбирать двигатель мощностью в 5-6 л.с.
Важно! Главный критерий, на который обращают внимание, – диаметры шкивов. При этом скорость вращения ножей в производительности роли особой не играет. Здесь важно прилагаемое усилие (т.е
Здесь важно прилагаемое усилие (т.е
крутящий момент)
Здесь важно прилагаемое усилие (т.е. крутящий момент). Пример измельчителя веток с двумя валами
Пример измельчителя веток с двумя валами
Образец расчета
Предположительно в хозяйстве имеется двигатель на 2800 об./мин. К нему решили подключить дробилку для веток. Но оптимальным решением является количество оборотов вдвое меньше (1400). Снизить параметр можно, если диаметры валов между собой будут отличаться в 2 раза. Иными словами, у ведущего шкива размер должен составлять 100 мм, у ведомого – 200.
Обратите внимание! Расстояние между шкивами особого значения не имеет. Хотя чересчур длинный ремень хуже натягивается, отчего падает КПД передачи






























